Murray 627808x5C - 27" Dual Stage Snow Thrower (2005) Discharge Chute Ersatzteile
Discharge Chute 627808x5C - Murray 27" Dual Stage Snow Thrower (2005)

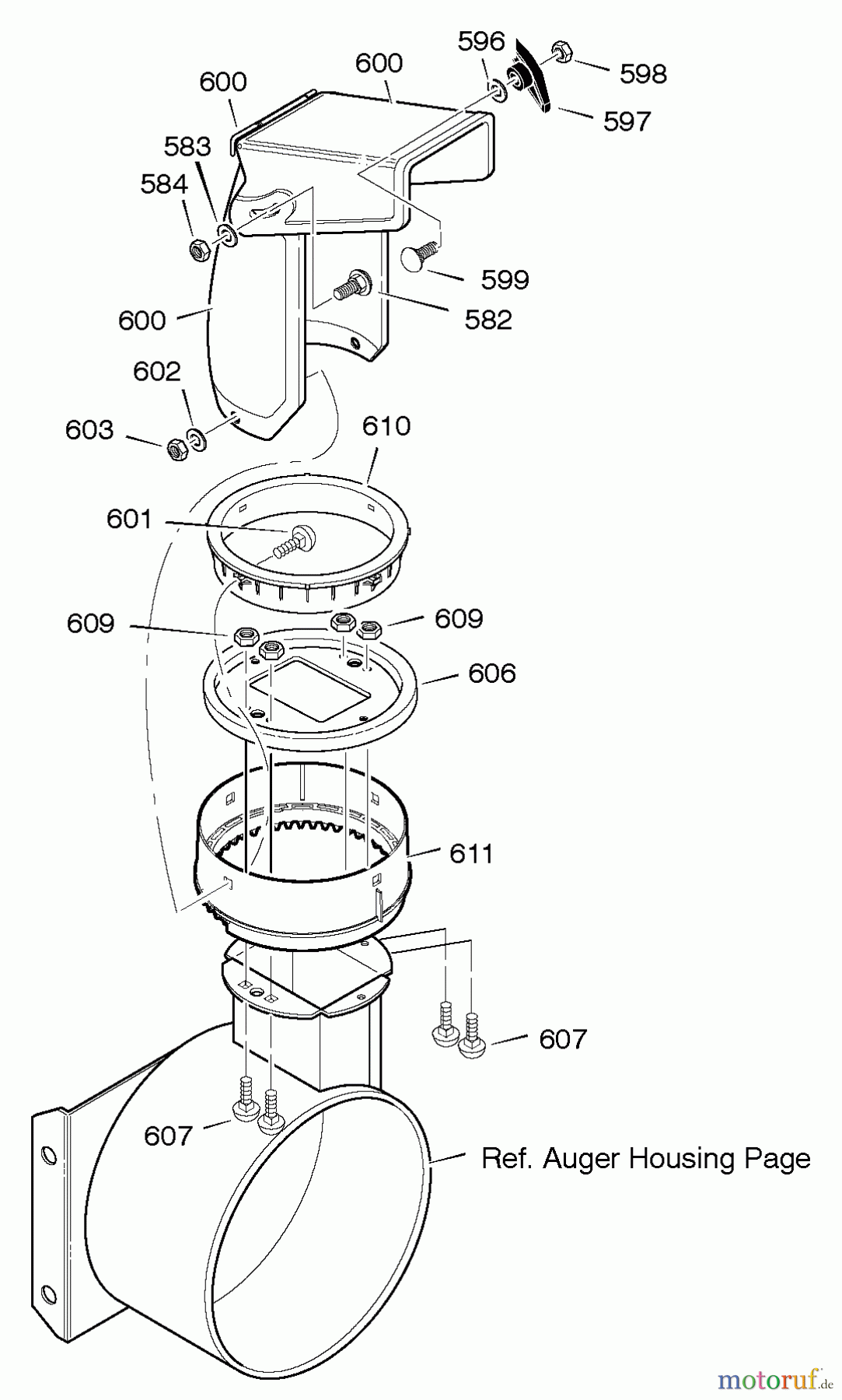
Hier finden Sie die Ersatzteilzeichnung für Murray Schneefräsen 627808x5C - Murray 27" Dual Stage Snow Thrower (2005) Discharge Chute. Wählen Sie das benötigte Ersatzteil aus der Ersatzteilliste Ihres Murray Gerätes aus und bestellen Sie einfach online. Viele Murray Ersatzteile halten wir ständig in unserem Lager für Sie bereit.
| BildNr | Artikel Nummer | Bezeichnung | |
| 582 | BS2X100MA | BOLT-CARRIAGE, SLOTTE | |
| 583 | BS71071MA | WASHER, FLAT .349X.69 | |
| 584 | BS71038MA | NUT.31-18 HEX NYLOCK | |
| 596 | BS71071 | ||
| 597 | BS1501260MA | WINGKNOB.31-18 NUT | |
| 598 | BS15X144 | ||
| 599 | BS02X100 | ||
| 600 | ![]() | BS762222MA | ASSY CHUTE C1 653BLK |
| 601 | BS002X97MA | BOLT, CARR 5/16 | |
| 602 | BS71071 | ||
| 603 | BS71038 | ||
| 606 | BS1501932YZMA | COLLAR,CHUTE ROTATE 1 | |
| 607 | BS02X101MA | BOLT-CRG.25-20X0.75 | |
| 609 | BS15X145MA | MUTTER,HEX 1/4-20 NYLOCK | |
| 610 | BS337227MA | ARRETIERRING INNEN B | |
| 611 | ![]() | BS1501282MA | AUSSERER SCHACHTRING |


Qualitätsmanagement
Informieren Sie uns, wenn Sie einen Fehler gefunden haben.



