Echo SRM-270 - String Trimmer/Brush Cutter, S/N: 36001001 - 36999999 Gear Case, Blade Ersatzteile
Gear Case, Blade SRM-270 - Echo String Trimmer/Brush Cutter, S/N: 36001001 - 36999999

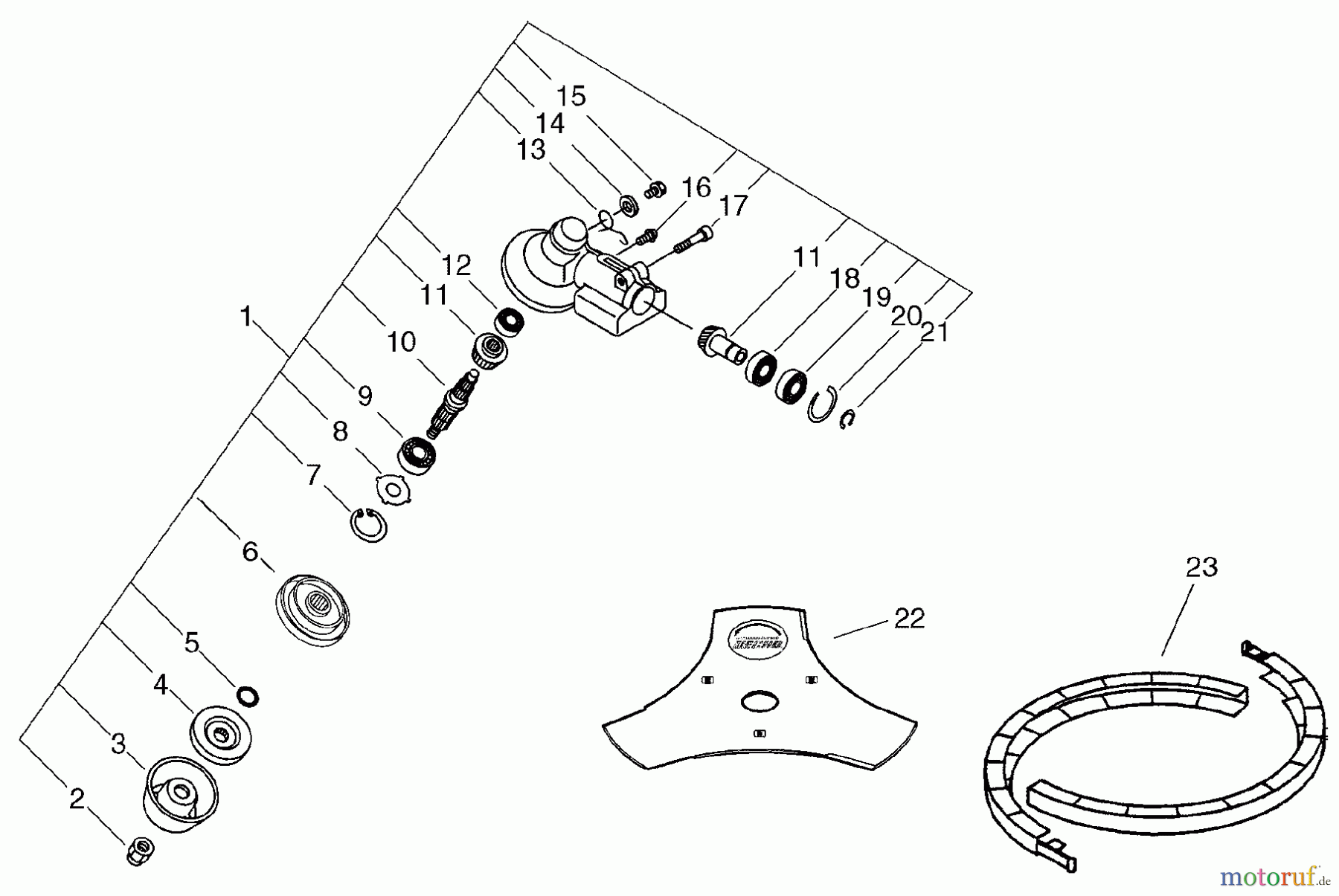
Hier finden Sie die Ersatzteilzeichnung für Echo Trimmer, Faden / Bürste SRM-270 - Echo String Trimmer/Brush Cutter, S/N: 36001001 - 36999999 Gear Case, Blade. Wählen Sie das benötigte Ersatzteil aus der Ersatzteilliste Ihres Echo Gerätes aus und bestellen Sie einfach online. Viele Echo Ersatzteile halten wir ständig in unserem Lager für Sie bereit.


Qualitätsmanagement
Informieren Sie uns, wenn Sie einen Fehler gefunden haben.

