Echo 99944200005 - i-Start Kit 99944200005 i-Start Kit Ersatzteile
99944200005 i-Start Kit 99944200005 - Echo i-Start Kit

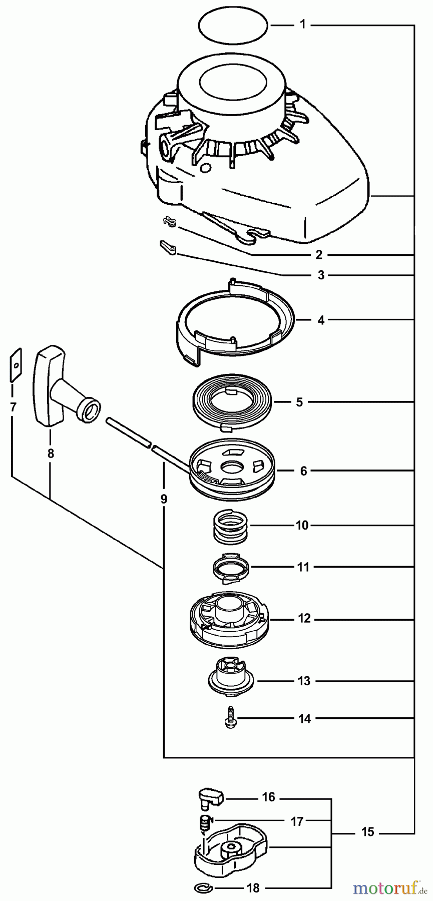
Hier finden Sie die Ersatzteilzeichnung für Echo Zubehör 99944200005 - Echo i-Start Kit 99944200005 i-Start Kit. Wählen Sie das benötigte Ersatzteil aus der Ersatzteilliste Ihres Echo Gerätes aus und bestellen Sie einfach online. Viele Echo Ersatzteile halten wir ständig in unserem Lager für Sie bereit.


