Zurück zu
>
Benzinmotoren
>
Briggs & Stratton
>
Diamond
>
Diamond I/C OHV ( 2001 / 1001000- )
>
Starter (1001000-2001-14)
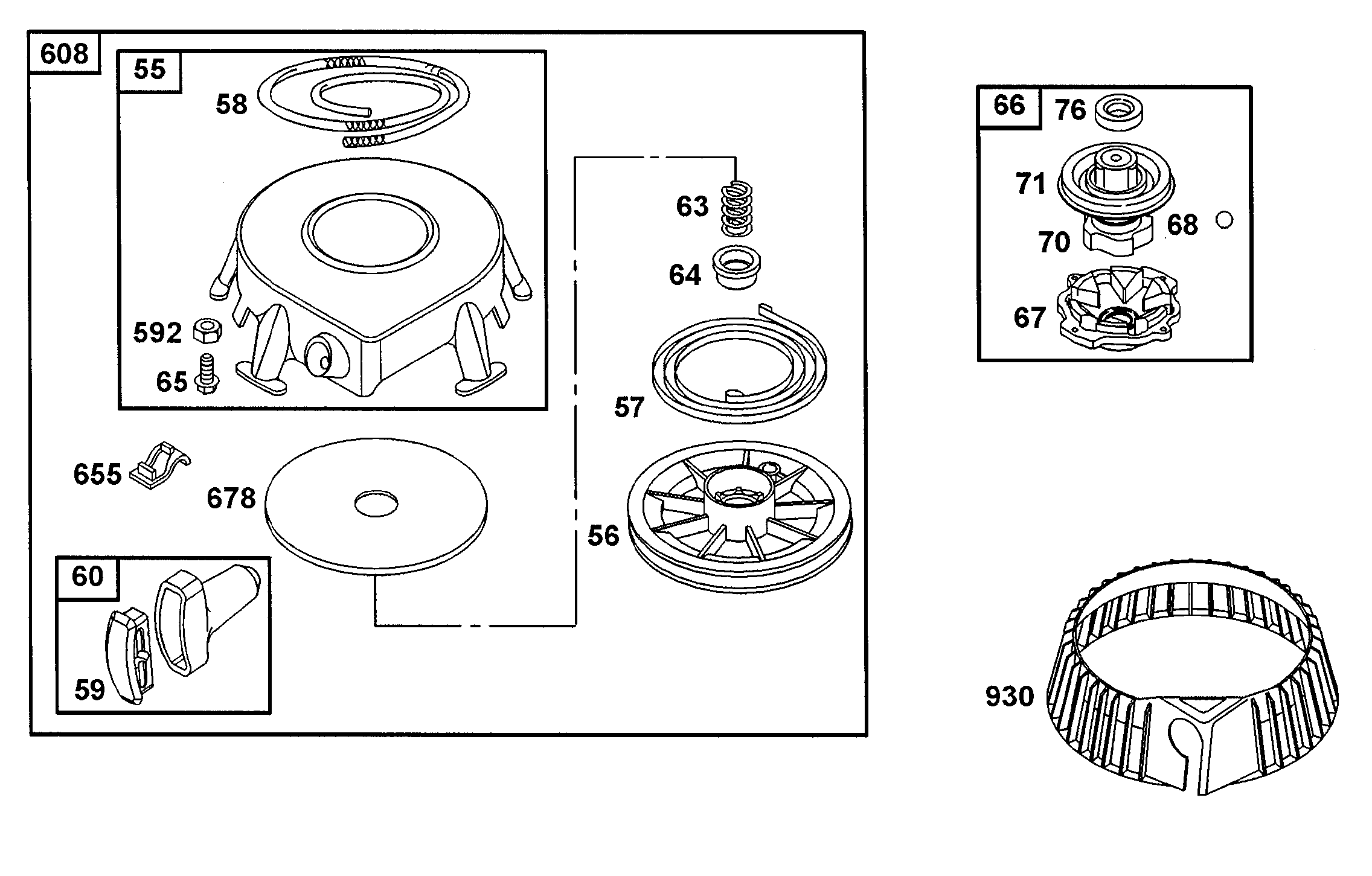
Ersatzteillisten für Wolf Benzinmotoren Starter (1001000-2001-14)
Pos.
Bezeichnung
Ersatzteilnummer
55
Startergehäuse
1001 012
56
Seilscheibe
1001 124
57
Starterfeder
2060 603
58
Starterseil
2001 600
59
Stopfen
1001 320
60
Griff
1001 017
63
Feder
1001 116
64
Zwischenstück
1001 123
65
Schraube
1001 158
66
Starterkupplung
2060 601
67
Gehäuse
1001 126
68
Kugel
1034 609
70
Ratsche
1001 125
71
Scheibe
1001 174
76
Scheibe
1034 616
592
Mutter
1001 156
608
Starter
1001 011
655
Federanker
1001 110
678
Hülse
1001 128
930
Spannband
1001 314
Gebrauchsanweisungen
Wolf
Handgeräte
Heckenscheren
Universalscheren
Handgrasscheren
Astscheren
Baumscheren
Baumpflege
Beleuchtungssysteme
Accuscheren
Häcksler
Sägen
Trimmer
Spindelmäher
Streuwagen / Portax
Schlauchwagen
Vertikutierer / Lüfter / Aerifizierer
Mäher
Aufsitzmäher
Benzinmotoren
Tecumseh
Briggs & Stratton
Quattro
Quantum
Diamond
Diamond I/C OHV ( 2001 / 1001000- )
Zylinder (1001000-2001-1)
Zylinderkopf (1001000-2001-2)
Ölwanne, Nockenwelle (1001000-2001-3)
Kolben, Pleuel, Kurbelwelle (1001000-2001-4)
Ölpmump, Öleinfüllrohr (1001000-2001-5)
Vergaser (1001000-2001-6)
Dichtungssatz für Vergaser (1001000-2001-7)
Dichtungssatz für Motor (1001000-2001-8)
Regelung (1001000-2001-9)
Luftfilter (1001000-2001-10)
Elektrische Bauteile (1001000-2001-11)
Polrad (1001000-2001-12)
Elektrischer Anlasser (1001000-2001-13)
Starter (1001000-2001-14)
Startergehäuse, Sieb (1001000-2001-15)
Schalldämpfer (1001000-2001-16)
Diamond I/C OHV ( 2004 / 1001000- )
Intek
Sprint
Classic
Honda
Kawasaki
Zubehör
Impressum
(C) by motoruf