Zurück zu
>
Mäher
>
Benzin
>
Schiebe bis 42 cm
>
2er
>
2.40 BS ( 2003 / 4001004-A )
>
Sprint 40 ( 2003 / 2079000- )
>
Polrad, Zündspule, Bremse (2079000-2003-6)
Ersatzteillisten für Wolf Mäher Polrad, Zündspule, Bremse (2079000-2003-6)
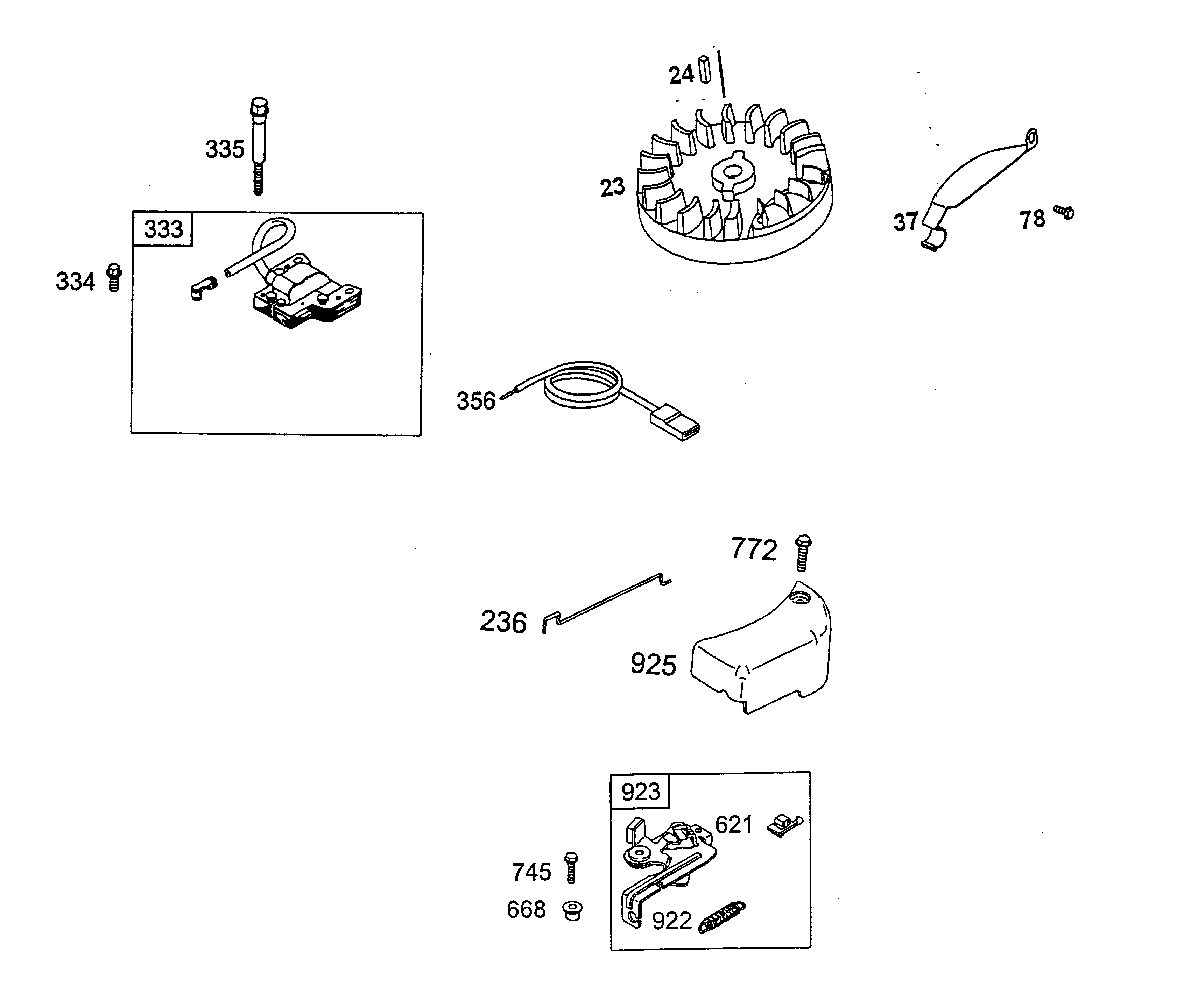
Pos.
Bezeichnung
Ersatzteilnummer
23
Schwungrad S
2056 184
24
Schwungradkeil
2057 130
37
Schutzblech
2056 178
78
Schraube
2063 314
236
Gestänge
2059 312
333
Zündspule
2003 051
334
Schraube
2003 103
335
Schraube
2003 104
356
Kabel
2057 183
621
Kurzschlußschalter
2063 131
668
Hülse
2063 221
745
Schraube
2056 140
772
Schraube
2056 116
922
Feder
2056 141
923
Bremse
2056 142
925
Abdeckung
2056 115
Gebrauchsanweisungen
Wolf
Handgeräte
Heckenscheren
Universalscheren
Handgrasscheren
Astscheren
Baumscheren
Baumpflege
Beleuchtungssysteme
Accuscheren
Häcksler
Sägen
Trimmer
Spindelmäher
Streuwagen / Portax
Schlauchwagen
Vertikutierer / Lüfter / Aerifizierer
Mäher
Accu
Benzin
Schiebe bis 42 cm
2er
2.42 T ( 1996 / 4760880-C )
2.42 TL ( 1996 / 4760886-C )
2.42 B ( 1996 / 4761887-C )
2.42 T ( 1998 / 4760880-C )
2.42 TL ( 1998 / 4760888-A )
2.42 TLK ( 1999 / 4760889-A )
2.42 BS ( 2001 / 4760884-A )
2.42 TV ( 2001 / 4760980-A )
2.42 TP ( 2001 / 4760985-A )
2.40 BQ ( 2002 / 4001005-A )
2.40 BS ( 2003 / 4001004-A )
Datenblatt (4001004a-2003-1)
Chassis (4001004a-2003-2)
Achse, Räder, Höhenverstellung (4001004a-2003-3)
Griff kpl. (4001004a-2003-4)
Motor, Messer (4001004a-2003-5)
Fangkorb Esprit ( 2005 / 4961065- )
Sprint 40 ( 2003 / 2079000- )
Kurbelgehäuse (2079000-2003-1)
Kolben, Pleuel, Ventile (2079000-2003-2)
Kurbelwelle, Ölwanne (2079000-2003-3)
Vergaser (Primer System) (2079000-2003-4)
Regelung (2079000-2003-5)
Polrad, Zündspule, Bremse (2079000-2003-6)
Luftfilter, Schalldämpfer (2079000-2003-7)
Abdeckung, Starter (2079000-2003-8)
Dichtungssatz (2079000-2003-9)
2.40 H ( 2003 / 4001007-A, B )
2.40 BC ( 2003 / 4001085-A, B )
2.38 TV ( 2003 / 4003080-A )
2.40 BS ( 2004 / 4001004-B )
2.40 H ( 2004 / 4001007-C )
2.40 BC ( 2004 / 4001085-C )
2.42 B, Good-Line ( 2004 / 4212000-A )
2.40 B ( 2005 / 4001009-A )
2.40 BT ( 2005 / 4003085-A )
4er
6er
Premio
Power Edition
Esprit
Moto-Verte
Sonstige
Compact plus
Schiebe ab 43 cm
Antrieb bis 42 cm
Antrieb ab 43 cm
Elektrostart / Touch&Mow
Elektro
Aufsitzmäher
Benzinmotoren
Zubehör
Impressum
(C) by motoruf