Zurück zu
>
Aufsitzmäher
>
Trac
>
OHV 6
>
Trac OHV 6 ( 2001 / 6200000-A )
>
Motorhaube (6200000a-2001-14)
Ersatzteillisten für Wolf Aufsitzmäher Motorhaube (6200000a-2001-14)
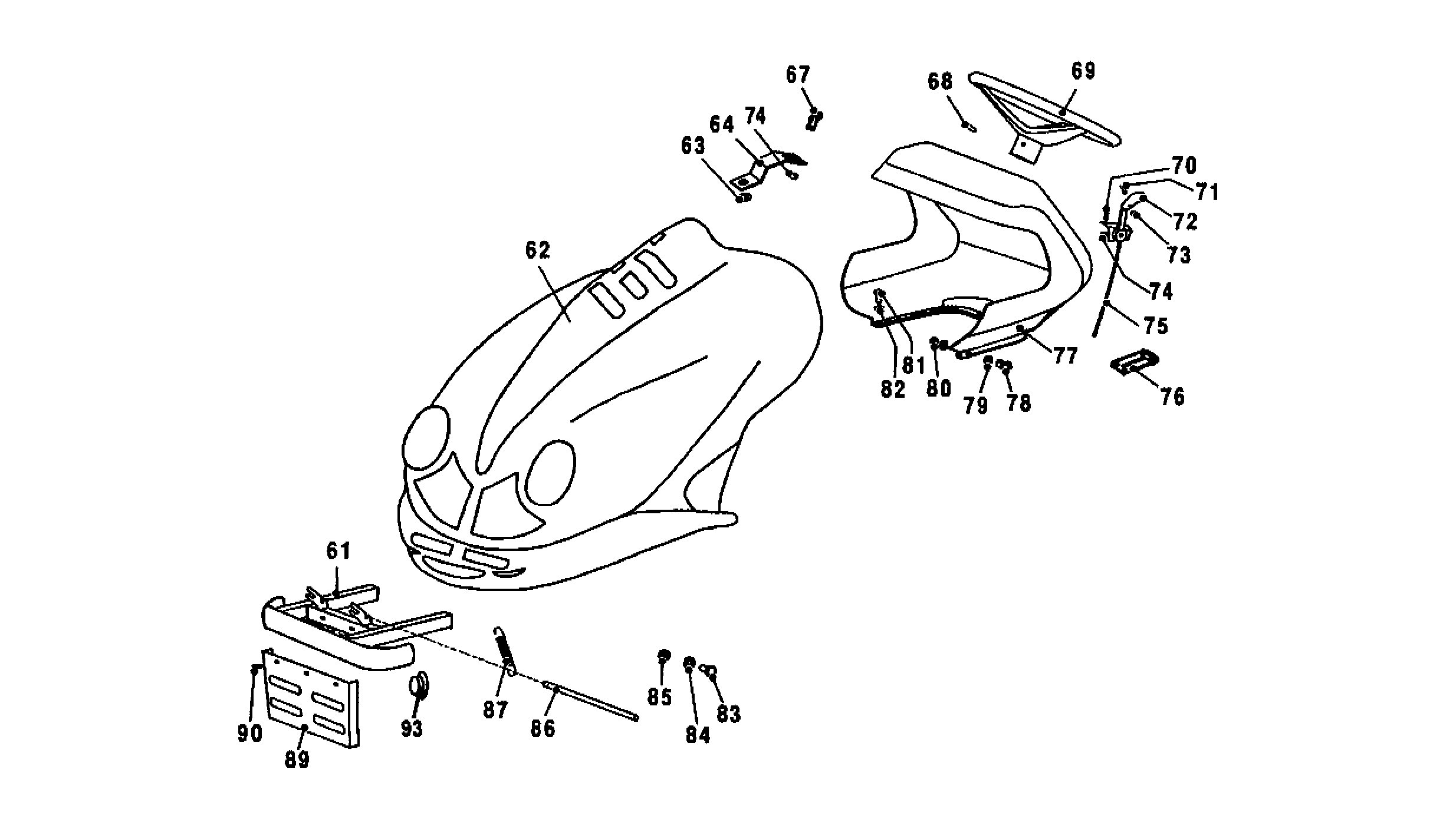
Pos.
Bezeichnung
Ersatzteilnummer
61
Stossstange
6200 516
62
Motorhaube
6200 346
63
Buchse 22x2
6205 159
64
Tankhalterung
6200 532
67
Flachrundschraube DIN 603-M5x16
0013 631
68
Spannstift 6x45-DIN 7346
6205 570
69
Lenkrad
6205 300
70
Schraube
0012 955
71
Schlitzschraube M4x14-DIN 84A 8.8
6205 583
72
Drosselknopf, schwarz
6205 302
73
Mutter M4 DIN 985
0016 309
74
6kt.-Mutter
0016 310
75
Drosselhebel, kpl.
6200 052
76
Stützblech
6205 466
77
Armaturentafel, schwarz
6200 344
78
6kt.-Schraube M4x16-DIN 933 8.8
6205 561
79
Scheibe A 4,3
0017 119
80
Mutter M4 DIN 985
0016 309
81
Sechskantschraube M5x20-DIN 933 8.8
0010 126
82
Scheibe A 5,3 DIN 9021
0017 287
83
6-kt.-Schraube M 8 x 20 DIN 933
0010 402
84
Scheibe 8,4-Din 9021B
6205 568
85
6kt.-Mutter
0016 312
86
Sicherungselement
6205 467
87
Zugfeder
6205 423
89
Hitzeblech
6205 490
90
Schraube BZ4 2x13 DIN 7981
0015 821
93
Kappe, schwarz GL 50x1-2,5
6205 303
Gebrauchsanweisungen
Wolf
Handgeräte
Heckenscheren
Universalscheren
Handgrasscheren
Astscheren
Baumscheren
Baumpflege
Beleuchtungssysteme
Accuscheren
Häcksler
Sägen
Trimmer
Spindelmäher
Streuwagen / Portax
Schlauchwagen
Vertikutierer / Lüfter / Aerifizierer
Mäher
Aufsitzmäher
Scooter
Cart
Trac
OHV 6
Trac OHV 6 ( 2001 / 6200000-A )
Datenblatt (6200000a-2001-1)
Motor (6200000a-2001-2)
Vorderachse (6200000a-2001-3)
Lenkung (6200000a-2001-4)
Antrieb, Getriebe (6200000a-2001-5)
Bedienelemente, Höhenverstellung (6200000a-2001-6)
Bedienelemente, Bremse (6200000a-2001-7)
Bedienelemente, Schaltung (6200000a-2001-8)
Mähwerk (6200000a-2001-9)
Riemen, Übersetztung Mähwerk (6200000a-2001-10)
Auswurfkanal, Aufnahme Fangeinrichtung (6200000a-2001-11)
Fangeinrichtung (6200000a-2001-12)
Chassis, Sitz (6200000a-2001-13)
Motorhaube (6200000a-2001-14)
Kabelbaum (6200000a-2001-15)
Elektrische Schalter1 (6200000a-2001-16)
Elektrische Schalter2 (6200000a-2001-17)
Etiketten (6200000a-2001-18)
Getriebe1 (6200000a-2001-19)
Getriebe2 (6200000a-2001-20)
Diamond I/C OHV ( 2001 / 1001000- )
Trac OHV 6 ( 2003 / 6200000-B )
Trac OHV 6 ( 2004 / 6200000-C )
OHV 7
Getriebe
Benzinmotoren
Zubehör
Impressum
(C) by motoruf