Zurück zu
>
Mäher
>
Benzin
>
Elektrostart / Touch&Mow
>
2er
>
2.46 TM ( 2004 / 4604004-B )
>
Motor, Messer (4604004b-2004-5)
Ersatzteillisten für Wolf Mäher Motor, Messer (4604004b-2004-5)
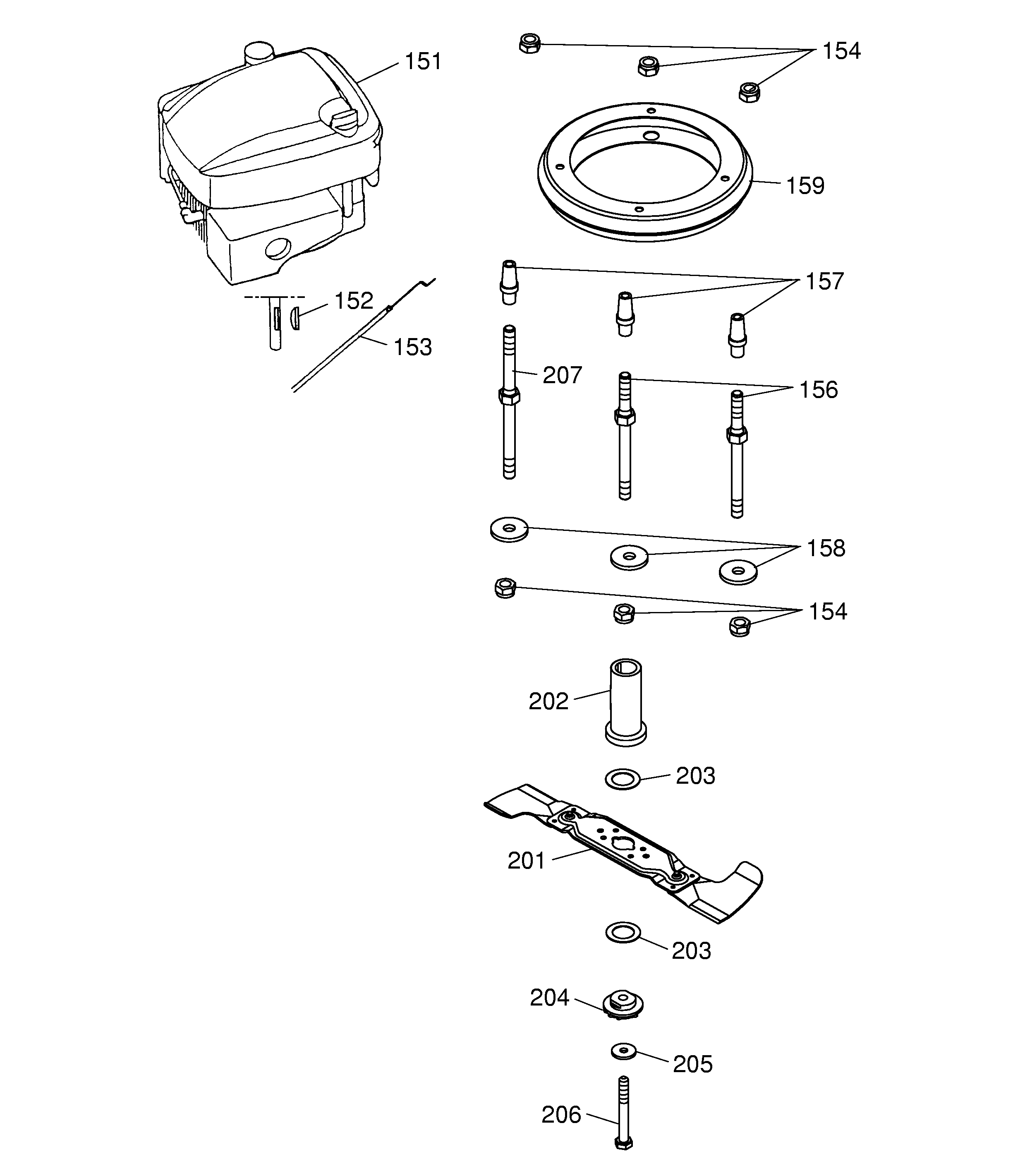
Pos.
Bezeichnung
Ersatzteilnummer
151
Motor
2075 000
152
Scheibenfeder
0029 131
153
Bowdenzug, Bremse
4004 054
154
6kt.-Mutter
0016 312
156
Stehbolzen, kurz
4004 170
157
Distanzhülse
4004 172
158
Scheibe
0017 111
159
Zwischenring
6340 022
201
Messerbalken kpl. VI 46 W
4601 094
***
VI-W Messerklingen (1 Paar)
4350 040
202
Kupplungsbuchse
4004 402
203
Vulkanfiberscheibe
4005 403
204
Kupplungsscheibe
4004 401
205
Spannscheibe
0017 105
206
6kt.-Schraube
0010 264
207
Stehbolzen lang
4004 171
Gebrauchsanweisungen
Wolf
Handgeräte
Heckenscheren
Universalscheren
Handgrasscheren
Astscheren
Baumscheren
Baumpflege
Beleuchtungssysteme
Accuscheren
Häcksler
Sägen
Trimmer
Spindelmäher
Streuwagen / Portax
Schlauchwagen
Vertikutierer / Lüfter / Aerifizierer
Mäher
Accu
Benzin
Schiebe bis 42 cm
Schiebe ab 43 cm
Antrieb bis 42 cm
Antrieb ab 43 cm
Elektrostart / Touch&Mow
2er
2.46 TM ( 2004 / 4604004-B )
Datenblatt (4604004b-2004-1)
Chassis (4604004b-2004-2)
Achse, Räder, Höhenverstellung (4604004b-2004-3)
Griff kpl. (4604004b-2004-4)
Motor, Messer (4604004b-2004-5)
Fangsack Esprit ( 2005 / 4620065- )
MK 46 (4602680a-2006-7)
45 XM ( 2004 / 2075000-45- )
2.46 TM ( 2003 / 4604004-A )
4er
6er
Concept
Premio
Power Edition
Esprit
Elektro
Aufsitzmäher
Benzinmotoren
Zubehör
Impressum
(C) by motoruf