Zurück zu
>
Mäher
>
Benzin
>
Elektrostart / Touch&Mow
>
Premio
>
Premio 40 TM ( 2003 / 4014000-A, B )
>
Motor, Messer (4014000ab-2003-5)
Ersatzteillisten für Wolf Mäher Motor, Messer (4014000ab-2003-5)
Pos.
Bezeichnung
Ersatzteilnummer
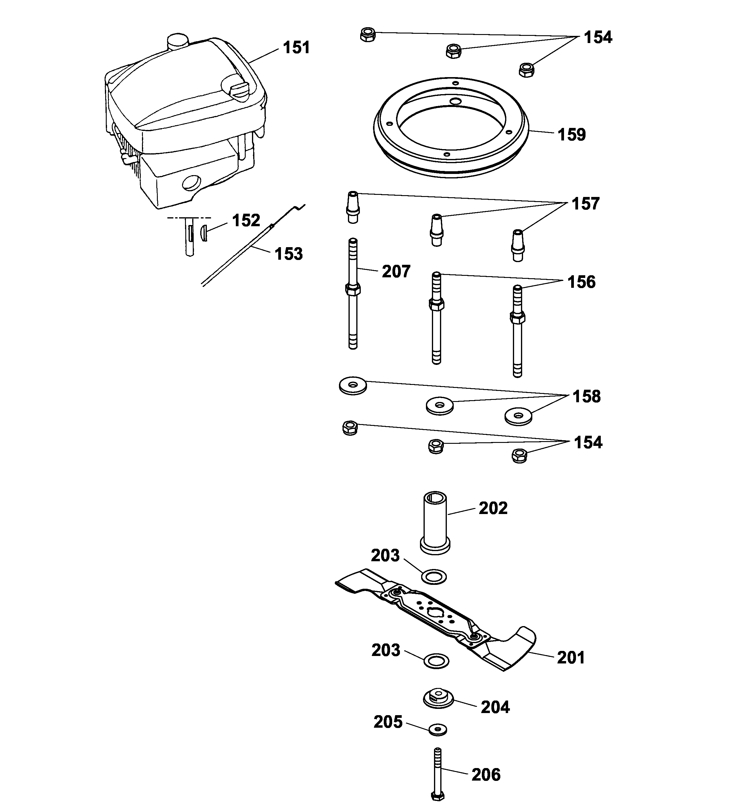
151
Motor
2075 000
151
Motor Quantum 60 XM (Serie B)
2075 060
152
Scheibenfeder
0029 131
152
Scheibenfeder
0029 130
153
Bowdenzug, Bremse
4004 054
154
6kt.-Mutter
0016 312
156
Stehbolzen, kurz
4004 170
157
Distanzhülse
4004 172
158
Scheibe
0017 111
159
Zwischenring
6340 022
201
Messerbalken kpl. VI 40 W
4001 094
***
VI-W Messerklingen (1 Paar)
4350 040
202
Kupplungsbuchse
4004 402
202
Kupplungsbuchse, Serie B
4618 402
203
Vulkanfiberscheibe
4005 403
204
Kupplungsscheibe
4004 401
205
Spannscheibe
0017 105
206
6kt.-Schraube
0010 264
207
Stehbolzen lang
4004 171
Gebrauchsanweisungen
Wolf
Handgeräte
Heckenscheren
Universalscheren
Handgrasscheren
Astscheren
Baumscheren
Baumpflege
Beleuchtungssysteme
Accuscheren
Häcksler
Sägen
Trimmer
Spindelmäher
Streuwagen / Portax
Schlauchwagen
Vertikutierer / Lüfter / Aerifizierer
Mäher
Accu
Benzin
Schiebe bis 42 cm
Schiebe ab 43 cm
Antrieb bis 42 cm
Antrieb ab 43 cm
Elektrostart / Touch&Mow
2er
4er
6er
Concept
Premio
Premio 46 BAI ( 2002 / 4617000-A )
Premio 46 BAI ( 2003 / 4617000-B )
Premio 46 BAi ( 2004 / 4617000-C )
Premio 40 TM ( 2003 / 4014000-A, B )
Datenblatt (4014000ab-2003-1)
Chassis (4014000ab-2003-2)
Achse, Räder, Höhenverstellung (4014000ab-2003-3)
Griff kpl. (4014000ab-2003-4)
Motor, Messer (4014000ab-2003-5)
Fangkorb Premio ( 2005 / 4950065- )
55 XM ( 2003 / 2075000-55- )
55 XM (2075060-2003)
Premio 40 TM ( 2004 / 4014000-C )
Premio 46 TMA ( 2003 / 4618000-A, B )
Premio 46 TMA ( 2004 / 4618000-C )
Power Edition
Esprit
Elektro
Aufsitzmäher
Benzinmotoren
Zubehör
Impressum
(C) by motoruf