Zurück zu
>
Mäher
>
Elektro
>
Schiebe bis 38 cm
>
Picco
>
Picco 32 ER ( 2004 / 4901002-E, F )
>
Chassis (4901002ef-2004-2)
Ersatzteillisten für Wolf Mäher Chassis (4901002ef-2004-2)
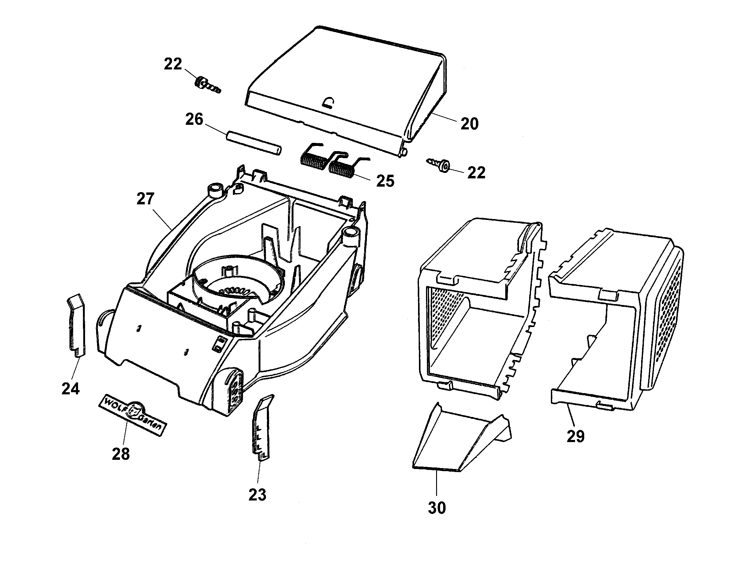
Pos.
Bezeichnung
Ersatzteilnummer
20
Schutzklappe gelb
4901 302
22
Schraube
0012 622
23
Riegel links
4901 309
24
Riegel rechts
4901 308
25
Doppel-Schenkelfeder
4901 100
26
Rundstab
4901 208
27
Chassis
4901 300
28
WOLF-Garten Marke
0051 115
29
Fangkorbhälfte*
4901 303
30
Schütte
4901 307
Gebrauchsanweisungen
Wolf
Handgeräte
Heckenscheren
Universalscheren
Handgrasscheren
Astscheren
Baumscheren
Baumpflege
Beleuchtungssysteme
Accuscheren
Häcksler
Sägen
Trimmer
Spindelmäher
Streuwagen / Portax
Schlauchwagen
Vertikutierer / Lüfter / Aerifizierer
Mäher
Accu
Benzin
Elektro
Schiebe bis 38 cm
2er
4er
6er
Picco
Picco 32 E ( 1997 / 4901000-A )
Picco 32 E ( 1997 / 4901001-A )
Picco 32 E ( 1997 / 4901002-A )
Picco 32 E ( 1997 / 4901003-A )
Picco 32 E ( 1998 / 4901000-A )
Picco 32 ER ( 1998 / 4901002-A )
Picco 32 E ( 1999 / 4901000-B )
Picco 32 ER ( 1999 / 4901002-B )
Picco 32 E ( 2003 / 4901000-C, D, E )
Picco 32 E ( 2004 / 4901000-E, F )
Picco 32 ER ( 2004 / 4901002-E, F )
Datenblatt (4901002ef-2004-1)
Chassis (4901002ef-2004-2)
Achse, Räder, Höhenverstellung (4901002ef-2004-3)
Griff kpl. (4901002ef-2004-4)
Abdeckhaube, Motor, Messer (4901002ef-2004-5)
Picco 32 E ( 2004 / 4901003-E, F )
Picco 32 E ( 2005 / 4901000-G, H )
P32E9 ( 2005 / 4901001-G, H )
Picco 32 E ( 2005 / 4901003-G, H )
Premio
Power Edition
Esprit
Compact Plus
Sonstige
Schiebe ab 40 cm
Antrieb
Aufsitzmäher
Benzinmotoren
Zubehör
Impressum
(C) by motoruf