Zurück zu
>
Mäher
>
Elektro
>
Schiebe ab 40 cm
>
Sonstige
>
WGI 40 E ( 2002 / 4028007-A )
>
Abdeckhaube, Motor, Messer (4028007a-2002-5)
Ersatzteillisten für Wolf Mäher Abdeckhaube, Motor, Messer (4028007a-2002-5)
Pos.
Bezeichnung
Ersatzteilnummer
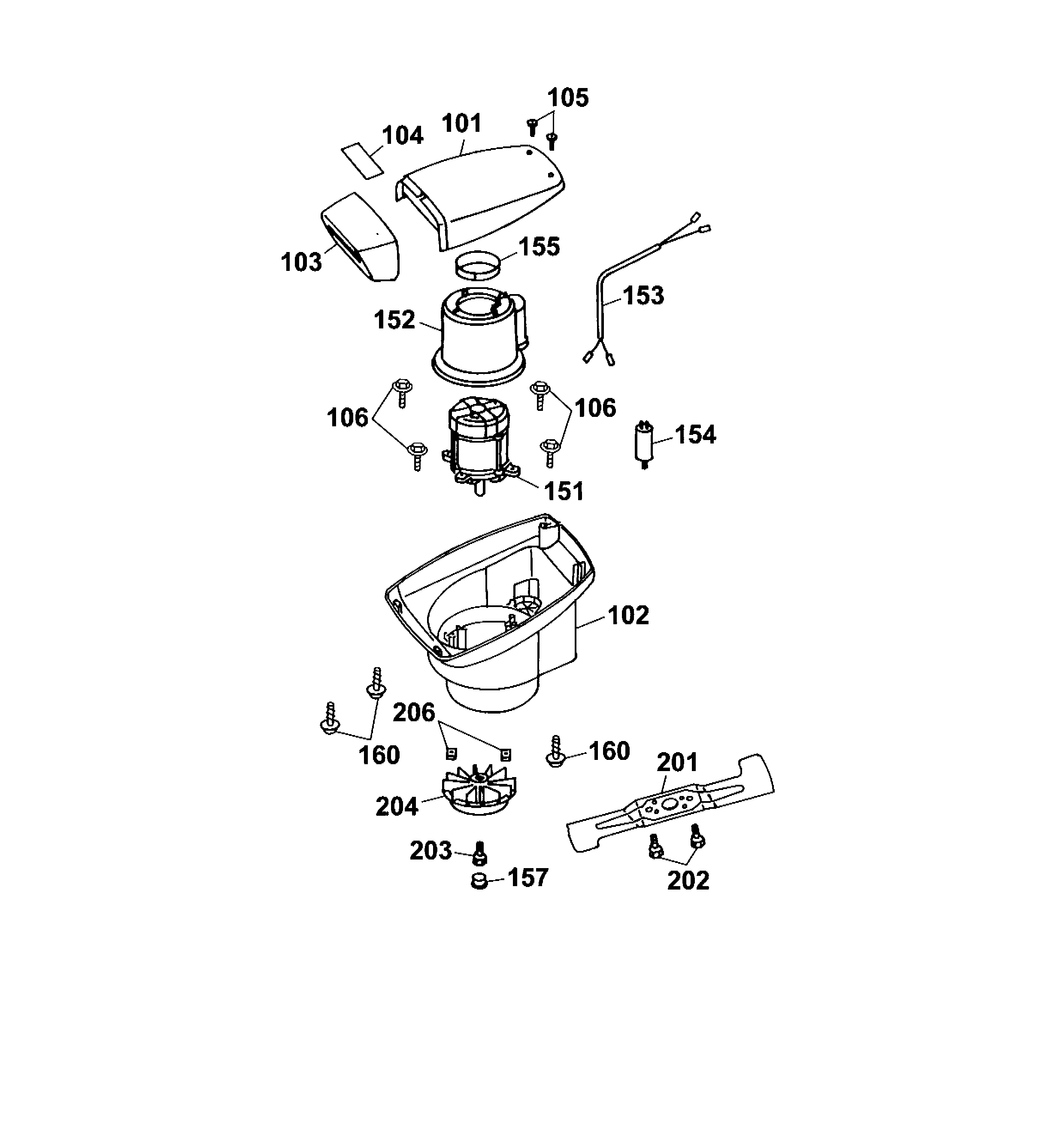
101
Oberteil
4317 301
102
Unterteil
4620 300
103
Frontteil
4317 302
104
Produkt-Etikett
4028 208
105
PT-Schraube
0012 625
106
Schraube
0012 886
151
Motor 1600 W
1140 065
152
Luftführung
4961 306
153
Verbindungskabel
3567 214
154
Kondensator 20 mF
1133 040
155
Rohrstück
4317 305
157
Stopfen
4317 308
160
PT-Schraube
0012 641
201
Messer
4001 095
202
6kt.-Schraube
0010 385
203
6kt.-Schraube
0010 403
204
Lüfter kpl.
4317 016
206
4kt.-Mutter
0016 409
Gebrauchsanweisungen
Wolf
Handgeräte
Heckenscheren
Universalscheren
Handgrasscheren
Astscheren
Baumscheren
Baumpflege
Beleuchtungssysteme
Accuscheren
Häcksler
Sägen
Trimmer
Spindelmäher
Streuwagen / Portax
Schlauchwagen
Vertikutierer / Lüfter / Aerifizierer
Mäher
Accu
Benzin
Elektro
Schiebe bis 38 cm
Schiebe ab 40 cm
2er
4er
6er
Concept
Premio
Power Edition
Esprit
Sonstige
HB 40 E ( 2002 / 4961005-A )
WGI 40 E ( 2002 / 4028007-A )
Datenblatt (4028007a-2002-1)
Chassis (4028007a-2002-2)
Achse, Räder, Höhenverstellung (4028007a-2002-3)
Griffgestänge kpl. (4028007a-2002-4)
Abdeckhaube, Motor, Messer (4028007a-2002-5)
Fangkorb Premio ( 2005 / 4950065- )
HB 42 E ( 2000 / 4940685-A )
40 E ( 2001 / 4028006-A )
Compact plus
Antrieb
Aufsitzmäher
Benzinmotoren
Zubehör
Impressum
(C) by motoruf