Zurück zu
>
Mäher
>
Elektro
>
Schiebe ab 40 cm
>
Sonstige
>
40 E ( 2001 / 4028006-A )
>
Abdeckhaube, Motor, Messer (4028006a-2001-5)
Ersatzteillisten für Wolf Mäher Abdeckhaube, Motor, Messer (4028006a-2001-5)
Pos.
Bezeichnung
Ersatzteilnummer
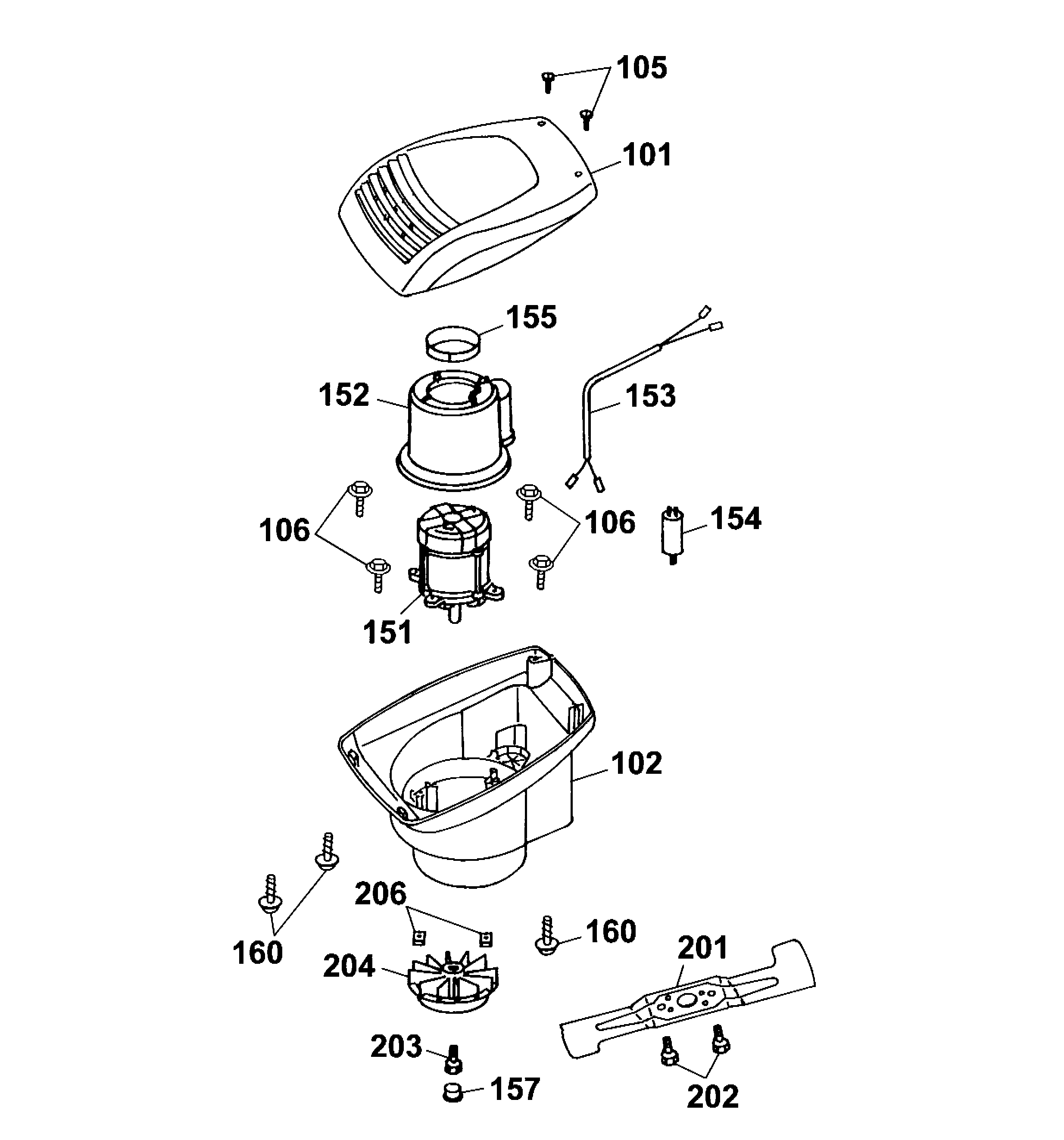
101
Oberteil
4620 301
102
Unterteil
4620 300
***
Produkt-Etikett
4028 207
105
PT-Schraube
0012 625
106
Schraube
0012 886
151
Motor
1140 060
152
Luftführung
4961 306
153
Verbindungskabel
3567 214
154
Kondensator 20 mF
1133 040
155
Rohrstück
4317 305
157
Stopfen
4317 308
160
PT-Schraube
0012 641
201
Messer
4001 400
202
6kt.-Schraube
0010 385
203
6kt.-Schraube
0010 403
204
Lüfter kpl.
4317 016
206
4kt.-Mutter
0016 409
Gebrauchsanweisungen
Wolf
Handgeräte
Heckenscheren
Universalscheren
Handgrasscheren
Astscheren
Baumscheren
Baumpflege
Beleuchtungssysteme
Accuscheren
Häcksler
Sägen
Trimmer
Spindelmäher
Streuwagen / Portax
Schlauchwagen
Vertikutierer / Lüfter / Aerifizierer
Mäher
Accu
Benzin
Elektro
Schiebe bis 38 cm
Schiebe ab 40 cm
2er
4er
6er
Concept
Premio
Power Edition
Esprit
Sonstige
HB 40 E ( 2002 / 4961005-A )
WGI 40 E ( 2002 / 4028007-A )
HB 42 E ( 2000 / 4940685-A )
40 E ( 2001 / 4028006-A )
Datenblatt (4028006a-2001-1)
Chassis (4028006a-2001-2)
Achse, Räder, Höhenverstellung (4028006a-2001-3)
Griff, Schalter (4028006a-2001-4)
Abdeckhaube, Motor, Messer (4028006a-2001-5)
Fangkorb Premio ( 2005 / 4950065- )
Compact plus
Antrieb
Aufsitzmäher
Benzinmotoren
Zubehör
Impressum
(C) by motoruf