Zurück zu
motoruf
Warenkorb

Ersatzteillisten für Wolf Mäher Abdeckhaube, Motor, Messer (4028000de-2004-5)




Ersatzteilliste


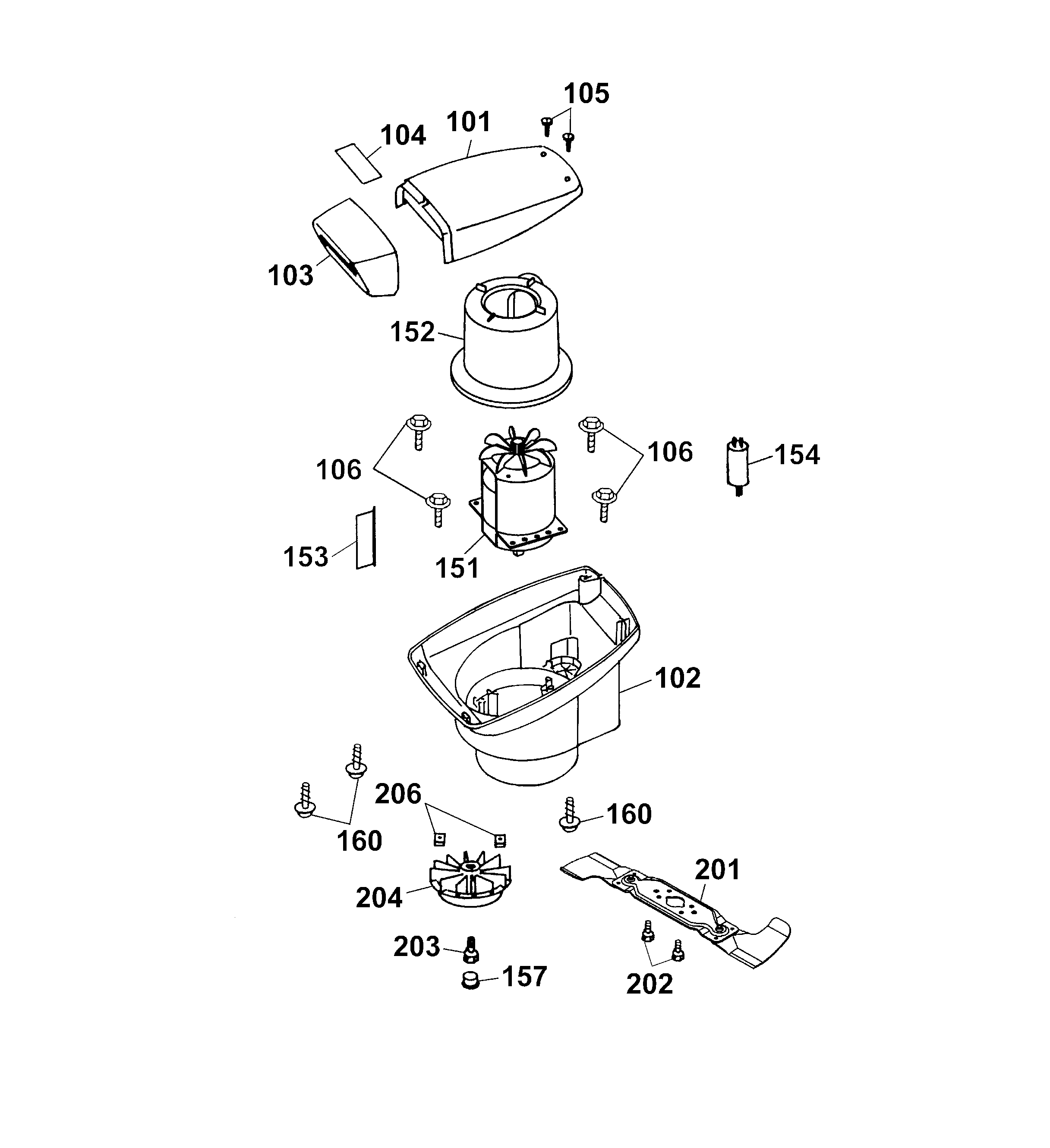
Pos.BezeichnungErsatzteilnummer
101Oberteil4317 301
102Unterteil4620 300
103Frontteil4317 302
104Produkt-Etikett4028 205
105PT-Schraube0012 625
106Schraube0012 886
151Motor 1600 Watt1142 081
152Luftführungshaube4961 326
153Luftleitfolie1142 300
154Kondensator 20 ?F1133 030
157Stopfen4317 308
160PT-Schraube0012 641
201Messerbalken kpl. VI 40 W4001 094
***VI-W Messerklingen (1 Paar)4350 040
2026kt.-Schraube0010 385
2036kt.-Schraube0010 403
204Lüfter4317 026
2064kt.-Mutter0016 409
Gebrauchsanweisungen
Wolf
Impressum
(C) by motoruf