Zurück zu
>
Mäher
>
Elektro
>
Schiebe ab 40 cm
>
Esprit
>
Esprit 40 E ( 2003 / 4020680-A, B )
>
Abdeckhaube, Motor, Messer (4020680ab-2003-5)
Ersatzteillisten für Wolf Mäher Abdeckhaube, Motor, Messer (4020680ab-2003-5)
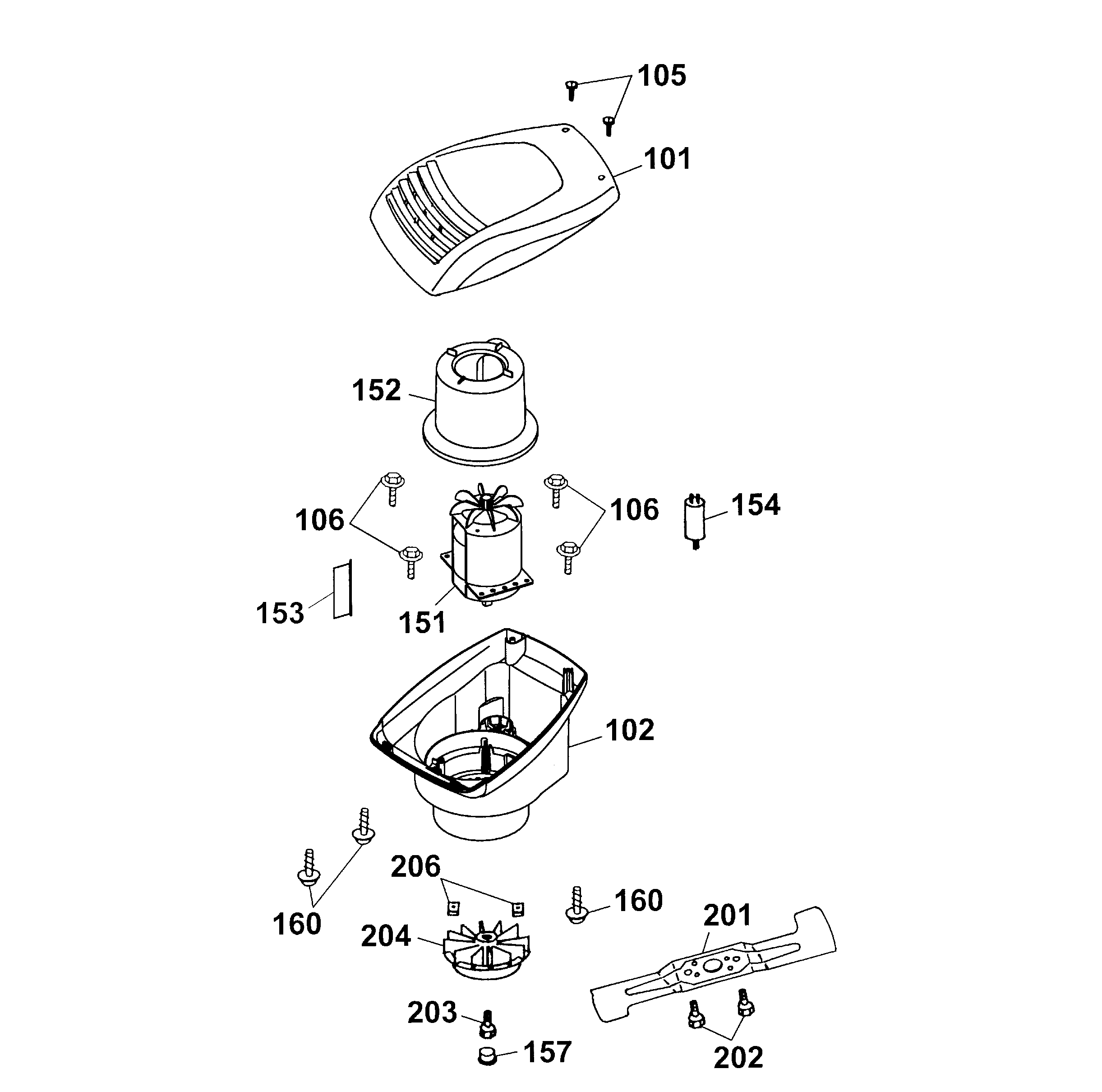
Pos.
Bezeichnung
Ersatzteilnummer
101
Oberteil
4620 301
102
Unterteil
4620 300
105
PT-Schraube
0012 625
106
Schraube
0012 886
151
Motor 1.200 W
1141 080
152
Luftführungshaube
4961 326
153
Luftleitfolie
1141 300
154
Kondensator 20 ?F
1133 030
157
Stopfen
4317 308
160
PT-Schraube
0012 641
201
Messer
4001 095
202
6kt.-Schraube
0010 385
203
6kt.-Schraube
0010 403
204
Lüfter
4317 026
206
4kt.-Mutter
0016 409
Gebrauchsanweisungen
Wolf
Handgeräte
Heckenscheren
Universalscheren
Handgrasscheren
Astscheren
Baumscheren
Baumpflege
Beleuchtungssysteme
Accuscheren
Häcksler
Sägen
Trimmer
Spindelmäher
Streuwagen / Portax
Schlauchwagen
Vertikutierer / Lüfter / Aerifizierer
Mäher
Accu
Benzin
Elektro
Schiebe bis 38 cm
Schiebe ab 40 cm
2er
4er
6er
Concept
Premio
Power Edition
Esprit
Esprit 46 E ( 2001 / 4620000-A )
Esprit 46 E / CH ( 2001 / 4620003-A )
Esprit 40 E ( 2002 / 4020000-A, B )
Esprit 40 E ( 2002 / 4020003-A, B )
Esprit 40 E ( 2002 / 4961000-B )
Esprit 40 E ( 2002 / 4961003-B )
Esprit 40 E / A ( 2002 / 4961006-A )
Esprit 40 E ( 2003 / 4020680-A, B )
Datenblatt (4020680ab-2003-1)
Chassis (4020680ab-2003-2)
Achse, Räder, Höhenverstellung (4020680ab-2003-3)
Griff, Schalter (4020680ab-2003-4)
Abdeckhaube, Motor, Messer (4020680ab-2003-5)
Fangkorb Esprit ( 2005 / 4961065- )
Esprit 40 E ( 2003 / 4020683-A, B )
Esprit 46 E ( 2003 / 4620680-A )
Esprit 46 E ( 2003 / 4620683-A )
Esprit 40 E ( 2004 / 4020680-C, D )
Esprit 46 E ( 2004 / 4620680-B, C )
Esprit 46 E ( 2004 / 4620683-B, C )
Esprit 40 E ( 2005 / 4020680-E, F )
Esprit 40 E ( 2005 / 4020683-C, D )
Esprit 46 E ( 2005 / 4620680-D )
Sonstige
Compact plus
Antrieb
Aufsitzmäher
Benzinmotoren
Zubehör
Impressum
(C) by motoruf