Zurück zu
>
Roth / TORO
>
Handgeräte
>
Schneefräsen
>
einstufig
>
CR 20 R
>
609/38110 C
>
7000001
>
Vergaser Nr. 632142A
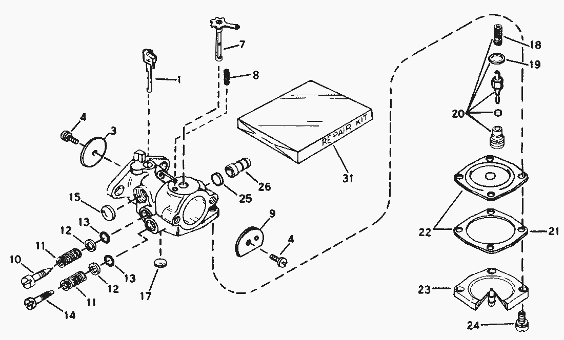
Ersatzteillisten für Toro Roth / TORO Vergaser Nr. 632142A
Pos.
Bezeichnung
Ersatzteilnummer
Inlet Needle, Seat, Spring & Gasket Assembly (Incl. Ref.
*630932A
Diaphragm Assembly (Incl. Ref.
*630978
Pos.
Bezeichnung
Ersatzteilnummer
1
Shaft & Lever Assy., Throttle
632130
3
Shutter, Throttle
631036
4
Schraube
650506
7
Luftklappenachse
631888
8
Druckfeder
630735
9
Starterklappe
31837
10
Leerlaufeinst. Schrb.
631562
11
Spring, Adjustment Screw
630738
12
Scheibe
630739
13
14
Schraube
630898
15
Plug, Welch
*630748
17
Plug, Welch
*630746
18
Feder
631049
19
Gasket, Valve Seat
630742
21
Dichtring
630750
23
Membrandeckel
632127
24
Schraube
650817
25
Disk (used on type 1602B)
632163
26
Anschlussstueck
632164
31
Reparaturs.(630978/630932
631893
Gebrauchsanweisungen
Toro
Roth / TORO
Aufsitzmäher
Handgeräte
Kehrmaschinen
Schneefräsen
Zubehör
zweistufig
einstufig
Snow Commander
CCR 3650 GTS
CCR 3000
CCR 2450
CCR 2400
CCR 2000
CR 1000
CR 20
CR 20 R
609/38110 C
8000001
7000001
Rücklaufstarter Nr. 590537
Motor Tecumseh Modell-Nr. AH-600 Typ 1623-M (Modelle Nr. 38115C & 38116C)
Motor Tecumseh Modell-Nr. AH-600 Typ 1622-M (Modell-Nr. 38110C)
Vergaser Nr. 632142A
Starter Motor & Schalter (Modelle Nr. 38115C & 38116C)
Motor (Modelle Nr. 38115C & 38116C)
Motor (Modell-Nr. 38110C)
Rotor
unterer Rahmen
Abdeckung & Holm
0000001
S 620
S 200
CCR Powerlite
Sauger/Bläser
Rasenmäher
Robin
Impressum
(C) by motoruf