Zurück zu
>
Roth / TORO
>
Aufsitzmäher
>
Traktor
>
15-44 HXL
>
393/71216
>
59000001
>
Sitz
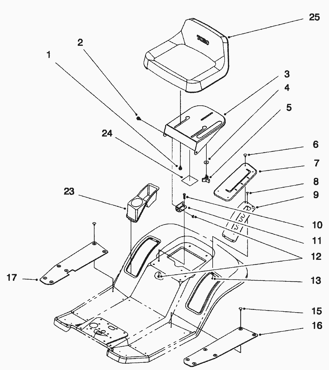
Ersatzteillisten für Toro Roth / TORO Sitz
Pos.
Bezeichnung
Ersatzteilnummer
1
Schraube
37-8770
2
Schraube
37-8770
3
Support-Seat
88-4910
4
Scheibe
5-4460
5
Knebelschraube
92-9674
6
Niete
3290-479
7
Cover-H.O.C.
88-5170
7
Abdeckung
93-7657
8
Niete
3290-282
9
Gate-H.O.C.
88-5030
10
Schraube
322-3
11
Bracket-Seat Hinge
88-4820
12
MUTTER
3296-29
13
Scheibe
3269-26
15
Niete
3290-479
16
Fussraste
88-5240
17
Mat-R.H. Foot
88-5230
23
Tray-Fender
88-4990
24
Klebeschild
114621
25
Fahrersitz
92-6511
Gebrauchsanweisungen
Toro
Roth / TORO
Aufsitzmäher
Traktor
264-6
246 HE
244-5
212-H
212-5
17-44 HXLE
16-44 HXL
16-38 HXL
16-38 XLE
15-44 HXL
393/71216
59000001
Motor (B&S Modell 28Q777-0168-01)
Elektrik
Schnitthöhe
Geschwindigkeitsbetätigung
Hydraulik-Getriebeachse (Fortsetzung)
Hydraulik-Getriebeachse
Getriebeachse
Hinterachse
Kupplung
Motor
Vorderachse
Lenkung
Sitz
Rahmen
Haube
15-38 HXL
14-38 HXL
14-38 XL
13-38 HXL
13-38 XL
13-32 XLE
12-38 HXL
12-38 XL
12-32 XL
264 H
265 H
267 H
268 H
270 H
520 xi
520 Lxi
523 Dxi
Rider
Mähwerke
Zubehör
Handgeräte
Robin
Impressum
(C) by motoruf