Zurück zu
>
Roth / TORO
>
Aufsitzmäher
>
Rider
>
12-32
>
375/70084
>
8900001
>
Sitz & Seitenverkleidung
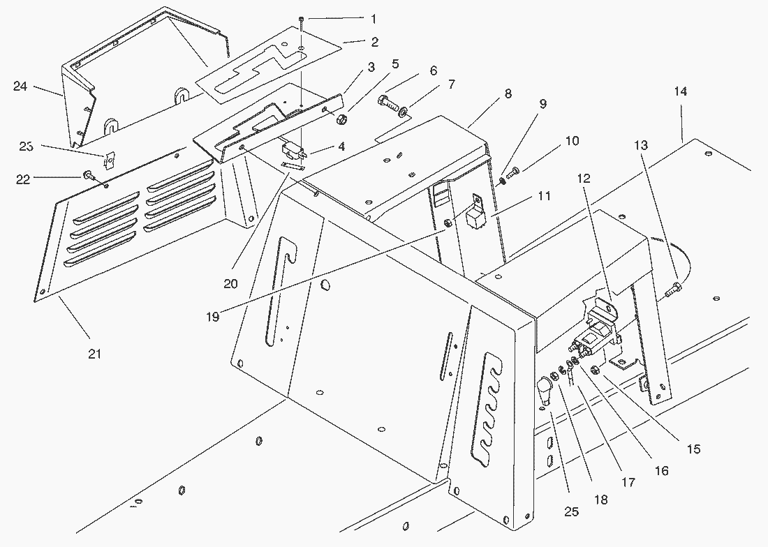
Ersatzteillisten für Toro Roth / TORO Sitz & Seitenverkleidung
Pos.
Bezeichnung
Ersatzteilnummer
1
Schraube
95-3003
2
Decal-Shift pattern
93-7007
3
Gate-Shift
92-0895
4
Schalter
88-9930
5
MUTTER
3296-29
6
Schraube
322-5
7
Scheibe
3256-23
8
Body W.A.-Seat Support
92-0866
9
Scheibe
3256-14
10
Schraube
3290-134
11
Schaltrelais
116397
12
Solenoid-Starter
47-1910
13
Schraube
321-4
14
Frame
92-0860
15
MUTTER
3296-42
16
Federring
3253-3
17
Pluskabel
56-7670
18
Mutter
3218-1
19
Mutter
3296-2
20
Mutter
3290-354
21
Panel-Seat Base, R.H.
92-0877
22
Schraube
32144-112
23
Mutter
3290-191
24
Abdeckung
88-9800
25
Schutzkappe
93-3190
Gebrauchsanweisungen
Toro
Roth / TORO
Aufsitzmäher
Traktor
Rider
HMR 1600
12-32 E
12-32
375/70171
375/70084
8900001
Motor B&S Modell
Motor B&S (Modell 28M707-1182-E1)
Peerlesss Getriebeachse Modell-Nr. 915-019
Deflektor -Recycler
Mäher -Recycler (Fortsetzung)
Mäher -Recycler
Ständer
Hinterachse
Motor
Getriebegestänge
Sitz
Sitz & Seitenverkleidung
Gestänge
Lenkrad, Schalter & Schilder
Bremse & Kupplung
Vorderachse
Lenksäule
11-32
10-32 E
8-25
110-4E
110-4
Mähwerke
Zubehör
Handgeräte
Robin
Impressum
(C) by motoruf