Zurück zu
>
Robin
>
Motorsensen
>
NBF171
>
Motor NBF 171 A
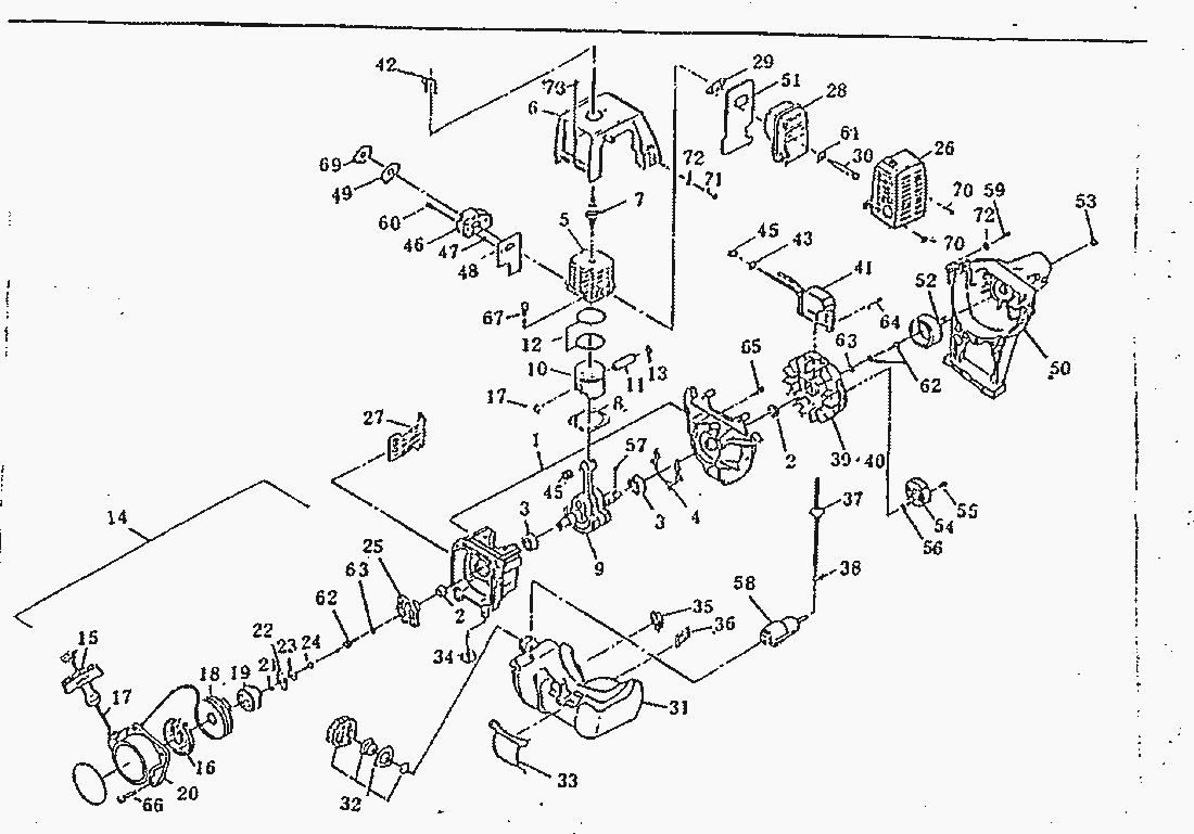
Ersatzteillisten für Toro Robin Motor NBF 171 A
Pos.
Bezeichnung
Ersatzteilnummer
1
KURBELWELLENGEHAEUSE KPL.
5031003000
2
DICHTRING
0440129991
3
LAGER
0600129920
4
DICHTUNG
5211500400
5
ZYLINDER
5031500200
6
ABDECKHAUBE
5035001000
7
ZUENDKERZE
0650149810
8
ZYLINDERDICHTUNG
5231500200
9
KURBELWELLE KPL.
5032002001
10
KOLBEN
5032500000
11
KOLBENBOLZEN
5012400600
12
KOLBENRING
5012500500
13
BOLZENSICHERUNG
0565089980
14
STARTER KPL.
5215005000
15
STARTERGRIFF
5215005140
16
STARTERFEDER
5215005020
17
STARTERSEIL
5215005130
18
SEILSCHEIBE
5215005030
19
KUPPLUNGSSTUECK
5215005040
20
STARTERGEHAEUSE
5215005010
21
SCHEIBE
5215005050
22
MITNEHMERSCHEIBE
5215005110
23
SCHEIBE
5215005120
24
SCHRAUBE
5215005060
25
MITNEHMER
5215005150
26
AUSPUFFABDECKUNG
5213501700
27
SCHUTZGITTER
5215500000
28
AUSPUFF KPL.
5033004000
29
DICHTUNG
5013500200
30
BOLZEN F. AUSPUFF
5223500300
31
TANK
5036500000
32
TANKDECKEL
5216004000
33
TANKHALTER
5036500100
34
GUMMISTOPFEN
5216500200
35
GUMMIFUSS
5036500200
36
GUMMIPLATTE
5036500300
37
BENZINLEITUNG
0851179990
38
KLEMME (19845)
0561059990
39
ZUENDUNG
5037001000
40
SCHWUNGRAD
5037001010
41
ZUENDSPULE
5037001020
42
KERZENSTECKER
0655009940
43
DICHTUNG
0241055000
44
FEDER
0654009952
46
ISOLIERSTUECK
5213004000
47
MUTTER
0021704000
48
ISOLIERSTUECK
5203500200
49
DICHTUNG
5213501600
50
KURBELGEHAEUSE
6165002000
51
ISOLIERST.
5213501900
52
KUPPLUNGSTROMMEL
6152004000
53
SEEGERRING
0031512000
54
KUPPLUNG
6162002000
55
KUPPLUNGSBOLZEN
6202500200
56
SCHEIBE
6202500600
57
WOODRUFF-KEIL
0053203101
58
BENZINFILTER
5016500300
59
SCHRAUBE
0150059980
60
SCHRAUBE
0140059690
61
SCHEIBE
0200089860
62
SCHRAUBE
0011306160
63
SCHEIBE
0031206000
64
SCHRAUBE
0043105160
65
0043505250
66
SCHRAUBE
0043605140
67
SCHRAUBE
0119059950
68
KLEBESCHILD
5219500200
69
DISTANZSCHEIBE
5103503400
70
SCHRAUBE
0043705140
71
SCHRAUBE
6151500700
72
SCHEIBE
0031005000
73
SCHRAUBE
0043605120
Gebrauchsanweisungen
Toro
Roth / TORO
Robin
Motorsensen
BH2500AU
NB26
NB26_91
NB31
NB31_91
NB31AU
NB40
NB211A
NB211A_91
NB221A
NB223A
NB251AU
NB253AU
NB321AU
NB411
NB411AU
NB2001A
NB2001AU
NBF171
Führstange NBF 171 A
Kupplung NBF 171 A
Motor NBF 171 A
Vergaser NBF 171 A
Zubehör NBF 171 A
Zweifach-Schneidenkopf NBF 171 A
Führstange NBF 171 B
Kupplung NBF 171 B
Motor NBF 171 B
Vergaser NBF 171 B
Zubehör NBF 171 B
Zweifachfadenkopf NBF 171 B
Vierfachschlagmesser
NBF251
NBF252
NBT415
Saug- / Blasgeräte
Impressum
(C) by motoruf