Zurück zu
>
Roth / TORO
>
Aufsitzmäher
>
Traktor
>
267 H
>
505/72104
>
6900001
>
Motor Betätigungen
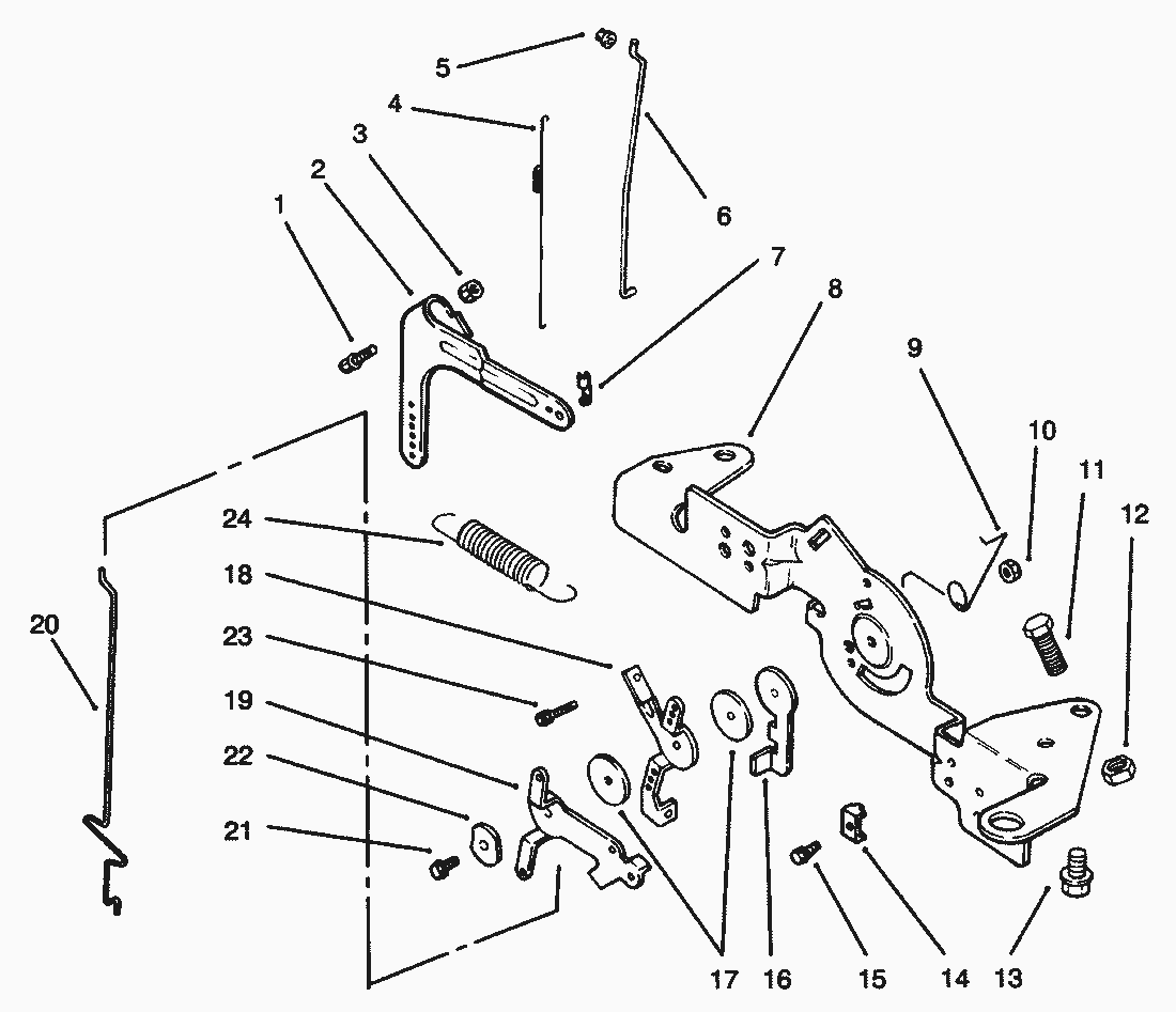
Ersatzteillisten für Toro Roth / TORO Motor Betätigungen
Pos.
Bezeichnung
Ersatzteilnummer
1
Screw M6 x 1.0 x 25
Sm-0642025
2
Reglerhebel
24 090 14
3
Mutter
M-0641060
4
Feder
24 089 01
5
Buechse
25 158 08
6
Gasgestaenge
24 079 04
7
Buechse
25 158 11
8
Bracket-Control (Only On: 72103, 72083)
24 126 13
9
Feder
24 089 03
10
Nut M5x0.8 (Only On: 72103, 72083)
M-0547050
11
Screw M5x0.8x16
Sm-0545016
12
Nut-Hex M4x0.7 (Only On: 72103, 72083)
M-0446030
13
Screw M6x1.0x16
Sm-0645016
14
Klammer
12 237 01
15
Screw M5x0.8x16
Sm-0545016
16
Hebel
24 090 07
17
Scheibe
24 468 01
18
Hebel
24 090 03
19
Hebel
24 090 05
20
Chokegestaenge
24 079 05
21
Schraube
Sm-0545020
22
Scheibe
41 468 03
23
Screw M4x0.7x25
M-0403025
24
Reglerfeder
24 089 15
Gebrauchsanweisungen
Toro
Roth / TORO
Aufsitzmäher
Traktor
264-6
246 HE
244-5
212-H
212-5
17-44 HXLE
16-44 HXL
16-38 HXL
16-38 XLE
15-44 HXL
15-38 HXL
14-38 HXL
14-38 XL
13-38 HXL
13-38 XL
13-32 XLE
12-38 HXL
12-38 XL
12-32 XL
264 H
265 H
267 H
505/72104
6900001
Haube mit Grill
Armaturenbrett
Lenkrad mit Verstellung
untere Lenkung
Vorderachse
Sitz
Kotflügel & Fußauflage
Zweizylinder Motor, Auspuff, und Zapfwelle
Kupplung 92-6885
Batterie
Haubenhalter & Hitzeschutz
Kraftstofftank & Hydrauliktank
Aushubhebel & Schnitthöhe
Rahmen
Hydraulik Antrieb
Hydraulikbremse
Hydraulikbetätigung
Hydraulik-Getriebeachse
Tempomat Betätigung
Hinterrad
Kurbelwelle
Kurbelgehäuse
Ölwanne, Schmierung
Kopf, Ventil, Entlüftung
Zündung, Elektrik
Gebläsegehäuse & Leitbleche
Starteinrichtung
Kraftstoffsystem
Motor Betätigungen
Lufteinlaß/Filter
Auspuff
Getriebeachs-Gehäuse
Mittleres Gehäuse
Pumpenwelle
Motorwelle
Wählhebel
Bypass
Dämpfer
Neutralzentrierung
Bremssicherung
Differentialgetriebe
Ritzel
Getriebewelle
Bremse
7900001
8900001
8900600
268 H
270 H
520 xi
520 Lxi
523 Dxi
Rider
Mähwerke
Zubehör
Handgeräte
Robin
Impressum
(C) by motoruf