Zurück zu
>
Roth / TORO
>
Handgeräte
>
Rasenmäher
>
4-Takt Radantrieb
>
491/20328 B
>
2000001
>
Motor (B&S Modell 97772-0112-01)
Ersatzteillisten für Toro Roth / TORO Motor (B&S Modell 97772-0112-01)
Ersatzteilliste 1
Ersatzteilliste 2
Ersatzteilliste 3
Ersatzteilliste 4
Ersatzteilliste 5
Ersatzteilliste 6
Ersatzteilliste 7
Ersatzteilliste 8
Pos.
Bezeichnung
Ersatzteilnummer
1
Cylinder Assy
493787
3
Seal-Oil
299819
5
Head-Cylinder
493785
7
Gasket-Cylinder Head
272314
8
Breather Assy
494489
9
Gasket-Breather
272481
9
Dichtung
272238
10
Screw-Hex Head (valve cover)
94576
10
Schraube
94650
11
Tube-Breather
231685
13
Screw-Cylinder Hd.
94547
33
Valve-Exhaust
493778
34
Valve-Intake
493777
35
Spring-Valve
262716
40
Retainer-Spring
262552
45
Stoessel
262679
122
Adapter Assy
493669
166
Stud-Rocker Arm
94555
192
Ball & Screw-Rocker Arm
492160
192
Screw-Set
810068
238
Cap-Valve
262499
307
Screw-Hex Head
94515
337
Plug-Spark
491055
572
Baffle-Cylinder
224328
635
Elbow-Spark Plug
66538
718
Pin-Cylinder
230192
868
Seal Assy-Valve
493661
868
Gasket-Valve
272376
869
Seat-Valve (Intake)
262728
870
Seat-Valve (Exhaust)
262727
871
Bushing-Guide
262718
883
Gasket-Exhaust
272313
1022
Gasket-Rocker Cover
272323
1023
Cover-Valve
213864
1026
Rod-Push
493527
1029
Arm-Rocker
224111
1034
Guide-Push Rod
224400
Pos.
Bezeichnung
Ersatzteilnummer
12
Gasket-Engine Base
272324
15
Plug-OII Drain
94613
16
Crankshaft Note: Order Part No. 94388 For Timing Gear Key
493726
18
Base-Engine
493901
20
Seal-Oil
399781
22
Screw-Sump Mtg. Sem
94220
25
Piston Assy (Std)
493781
26
Ring Set (Std)
493782
27
Lock-Piston Pin
262514
28
Pin Assy-Piston
492765
29
Rod-Connecting
493049
32
Screw-Connecting Rod
94572
46
Gear-Cam
493310
116
O-Ring
280891
188
Screw-Hex Head Sem
94513
219
Gear-Governor
493719
227
Lever Assembly-Governor
492349
230
Washer-Governor Crank
67072
305
Schraube
94582
523
Dipstick-Oil
493601
524
Seal-Filler Tube
280393
525
Tube-Oil Filler
494194
562
Bolzen
92613
592
Mutter
231082
615
Pushnut (Governor Crank)
94474
616
Crank-Governor
262578
741
Zahnrad
262598
842
O.RING17X2,5 B&S
280966
979
Cover-Oil Pump
492756
1024
Oelpumpe
493884
Pos.
Bezeichnung
Ersatzteilnummer
95
Schraube
94098
98
Schraube
398185
104
Pin-Float Hinge
231371
108
Valve-Choke
224449
116
Dichtring
271716
118
Duese
493765
124
Screw-Hex Head (carb mtg)
94584
125
Carburetor Assy
493887
127
Plug-Welch
223949
130
Drosselklappen
223470
131
Welle
493267
133
SCHWIMMER
398187
134
Nadelventil
398188
136
Bowl-Fuel
224458
137
Gasket-Float Bowl
280492
141
Shaft-Choke
493899
147
Adapter-Jet Note: For High Altitude Jet, Order Part No. 494236.
493883
634
Washer-Seal
280566
955
Screw-Hex Head
493924
975
Bowl Assy-Carburetor
493902
1011
Tube-Vent
280786
1039
Limiter-Float
281086
Pos.
Bezeichnung
Ersatzteilnummer
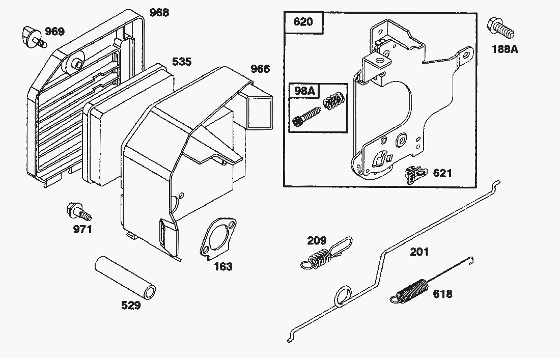
98
Screw Assy.-Speed Adj.
493280
163
Gasket-Air Cleaner
272325
188
Screw-Hex. Head
94644
201
Link-Governor
262709
209
Spring-Governor
262735
529
Tube-Breather
494306
535
Element-Filter Note: 494245 Element-Paper (Optional)
272310
618
Spring-Choke
262717
620
Bracket-Carburetor
493539
621
Switch-Stop
396847
966
Base Air Cleaner
493408
968
Cover-Air Cover
281006
969
Screw-Air Cleaner
493307
971
Screw-Air Cleaner
94577
Pos.
Bezeichnung
Ersatzteilnummer
55
Housing-Rewind Starter
493942
56
Pulley-Rewind Starter
494545
58
Rope-Starter (Cut To Suit)
390620
59
Insert-Rewind Handle
224467
60
Handle-Rewind Starter
493926
65
Screw-Hex Head
94579
456
Retainer-Rewind Starter
224204
459
Starterklinke Mit Feder
492833
461
Screw-Rewind Starter
94507
515
Spring
262555
608
Starter Assy-Rewind
494023
718
Pin-Spring
493925
1016
Deckel
224278
Pos.
Bezeichnung
Ersatzteilnummer
23
Flywheel-Magneto
492177
24
Key-Flywheel
222698
37
Guard-Flywheel
224402
304
Housing-Blower
493326
332
Nut-Flywheel
92284
333
Armature-Magneto
802574
334
Screw, Breaker Arm Mtg. Sem
93381
356
Massekabel
398808
455
Starterglocke
224250
851
Terminal-Ignition Cable
221798
980
Bracket-Blower Housing
224395
1002
TELLERFEDER 553SL
281050
Pos.
Bezeichnung
Ersatzteilnummer
180
Tank Assy-Fuel
494022
182
Bracket-Fuel Tank
224394
187
Hose-Fuel (Cut To Suit)
395051
300
Muffler-Exhaust
493691
346
Screw-Hex
93572
346
Schraube
93705
601
Schlauchklemme (10)
93807
670
Spacer-Fuel Tank (includes 2)
494307
674
Screw-Tank Mtg
94585
832
Guard-Muffler
493698
994
Arrester-Spark
493662
1041
Seal-Foam
272383
Pos.
Bezeichnung
Ersatzteilnummer
121
Overhaul Kit-Carburetor
493917
358
Gasket Set
493783
977
Gasket Set-Carburetor
490937
Gebrauchsanweisungen
Toro
Roth / TORO
Aufsitzmäher
Handgeräte
Kehrmaschinen
Schneefräsen
Sauger/Bläser
Rasenmäher
Grasfangvorrichtungen
4-Takt Radantrieb
498/26638
498/26633
498/26633 B
498/26631 B
496/26639
496/26636
496/26636 B
496/26635 BC
496/26625 BG
495/26637
495/26632
495/26632 B
495/26630 BC
495/26630 BG
495/26620 BG
494/20784
494/20791
493/20783
493/20789
492/20787
492/20778
491/20786
491/20777
491/20328 B
2000001
Motor (B&S Modell 97772-0112-01)
Verschleißplatte Modell-Nr. 49-4080 (wahlw.)
Seitauswurf Modell-Nr. 59110 (wahlw.)
Fangkorb Nr. 11-0189
Antrieb Betätigung
Holm
Getriebegehäuse (Fortsetzung)
Getriebegehäuse
Motor
Gehäuse (Fortsetzung)
Gehäuse
490/20327 B
489/20927 B
489/20926 B
489/20925
488/20920
487/20914
487/20909 BC
487/20905
479
477
469
465/20781
465/20779
464
459/20824
459/20821
459/20821 B
459/20820 BC
458/20823
458/20822
457
456/20808
456/20808 B
456/20807 BC
456/20806 B
455/20803
455/20803 B
455/20802 BC
455/20801 B
453
449
439
437/22173
437/22157
437/22154
437/22154 B
437/22153 BC
434
424
421/20652
417/20832
417/20829
417/20827
416/20831
416/20828
416/20826
415/20817
415/20811
4-Takt
2-Takt Radantrieb
2-Takt
Elektro
Akku
Robin
Impressum
(C) by motoruf