Zurück zu
>
Roth / TORO
>
Aufsitzmäher
>
Traktor
>
12-32 XL
>
390/71200
>
3900001
>
Motor B&S (Modell 254707-0128-01)
Ersatzteillisten für Toro Roth / TORO Motor B&S (Modell 254707-0128-01)
Ersatzteilliste 1
Ersatzteilliste 2
Ersatzteilliste 3
Ersatzteilliste 4
Ersatzteilliste 5
Ersatzteilliste 6
Ersatzteilliste 7
Ersatzteilliste 8
Pos.
Bezeichnung
Ersatzteilnummer
Piston Assembly-.020 O.S. 21 1_366010 1 38160 Piston Assembly-.020 O.S.
391288
Ring Set-Piston-.020 O.S. 25 1_366010 1 38160 Ring Set-Piston-.020 O.S.
391782
Piston Assembly-.010 O.S. 20 1_366010 1 38160 Piston Assembly-.010 O.S.
391287
Ring Set-Piston-.030 O.S. 26 1_366010 1 38160 Ring Set-Piston-.030 O.S.
391783
Pin Assembly-Piston-.005 O.S. 29 1_366010 1 38160 Pin Assembly-Piston-.005 O.S.
391286
Gasket-Crankcase Cover (1/64 Thick) 12 10 5_187030 1 R3-10B404 Gasket-Crankcase Cover (1/64 Thick)
271702
Pos.
Bezeichnung
Ersatzteilnummer
1
Cylinder Assembly
495728
2
Sieb
399265
3
Seal-Oil
391086
5
Zylinderkopf
212914
7
Gasket-Cylinder Head
271866
8
Entluefter
391406
9
Dichtung t
27803
10
Schraube
94621
11
Entluefterrohr
280100
13
Screw-Cylinder Head(3 long) 14 11 1_366010 1 38160 Screw-Cylinder Head(3 long)
93723
225
Crank-Governor
231058
227
Reglerhebel
493935
230
Scheibe
94742
306
Shield-Cylinder
224542
307
Screw-Cylinder Shield Mtg.
93949
308
Cover-Cylinder Head
222725
337
Zuendkerze
802592
383
Wrench-Spark Plug
89838
552
Bushing-Gov. Crank
231597
562
Bolzen
92613
592
Mutter
231082
614
Splint
93306
615
Halter
93307
634
Dichtring
491323
635
Elbow-Spark Plug
66538
869
Einlassventil
261463
870
Seat-Exhaust Valve (Std.)
213316
871
Ventilfuehrung
261961
1019
Decal (Label) Kit
491195
Pos.
Bezeichnung
Ersatzteilnummer
16
Crankshaft Note: Order 94196 for Timing Gear Key.
491647
24
Key-Flywheel
222698
25
Kolben
391285
Kolben 0.30
391289
26
Ringsatz
391780
Kolbenringsatz 010
391781
27
Kolbenbolzensicherung
260924
28
Kolbenbolzen
299691
29
Pleuelstange
490348
31
Lock-Connecting Rod Screw
222299
32
Screw-Connecting Rod
92909
33
Auslassventil
261185
34
Einlassventil
261462
35
Ventilfeder
65906
36
Spring-Exhaust Valve
26828
40
Retainer-Intake Valve
221596
41
Drehkappe
292260
42
Retainer-Exhaust Valve Rotocoil
93630
45
Ventilstoessel
262248
46
Nockenwelle
212897
219
Reglerrad
490815
741
Gear-Timing
262135
757
Link-Counterweight
212359
758
Counterweight Assembly
391373
759
Kolbenbolzen
298909
761
Screw-Counterweight
93875
1020
Eccentric
261242
1021
Pin-Eccentric
94160
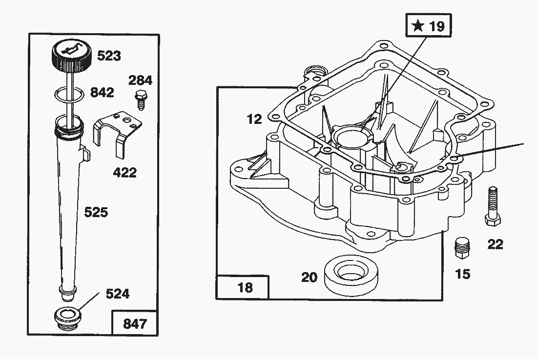
Pos.
Bezeichnung
Ersatzteilnummer
Dichtung
270915
Dichtung
270916
15
Plug-Oil Drain
94239
18
Oelwanne
391784
19
Bushing-Sump Note: Requires Special Tools For Installation.
490666
20
Seal-Oil
291675
22
Schraube
93585
284
Screw-Clamp Mtg.
94419
422
Clamp-Oil Filler Tube
223394
523
Cap and Dipstick-Oil Filler
391841
524
Seal-Filler Tube
68838
525
Rohr
280134
842
Seal-Oil Filler Cap
270920
847
Oelmess-Stab Kpl.
392067
Pos.
Bezeichnung
Ersatzteilnummer
51
Gasket-Carb (Carb to Elbow)
272465
52
Gasket-Carburetor Mtg.
272554
53
Stud-Carb Mtg
94637
95
Schraube
94098
98
Duese
495800
104
Pin-Float Hinge
231789
105
Valve Assy.-Inlet Needle
231855
106
Inlet Valve Seat
231854
108
Valve-Choke
224666
118
Duese
494383
123
Screw-Elbow Mtg
94616
125
Vergaser
495784
127
130
Valve-Throttle
224539
131
Drosselwelle
494379
133
Schwimmer
494381
137
Gasket-Float Bowl
281165
138
Washer-Float Bowl Screw
281164
141
Welle
494380
142
Nozzle_Carburetor Note: 495604 High Altitude Kit Includes: 281164 Washer-Bowl
494878
147
Pilot-Jet
231794
164
Carburetor-Elbow
213819
187
Benzinleitung
393815
240
Filter-Fuel
298090
601
Klammer
93053
611
Fuel Inlet Tube
494451
618
Feder
262803
634
Dichtung
281168
634
Washer-Throttle Shaft
281167
955
Screw-Fuel Bowl
94642
965
Locknut-Air Cleaner Mtg
94108
975
Bowl Assy-Carb
494378
987
Dichtung
281166
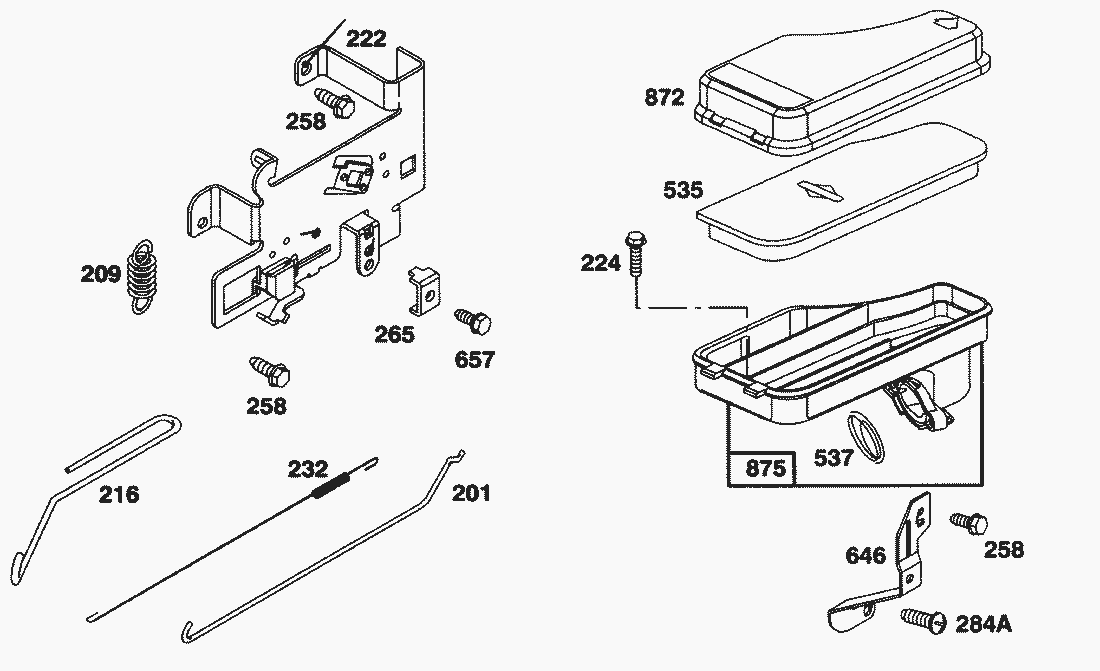
Pos.
Bezeichnung
Ersatzteilnummer
201
Link-Governor
262767
209
Spring-Governor
260871
216
Gestaenge
262766
222
Plate-Governor Control
494887
224
Screw-Hex Head Sem
94513
232
Feder
262785
258
Screw-Clamp Mtg.
94620
265
Clamp, Casing
221535
284
Schraube
94326
535
Element-Air Cleaner
272405
537
O-Ring
281106
646
Brace-Air Cleaner
224546
657
Screw, Sem
93496
872
Filterdeckel
281108
875
Body-Air Cleaner
494745
Pos.
Bezeichnung
Ersatzteilnummer
23
Flywheel and Ring Gear Assy.-Magneto
391988
75
Washer-Spring
224061
78
Screw-Sem
93805
304
Housing-Blower
494087
305
Screw-Blower Housing Mtg
94608
332
Nut-Flywheel
92284
356
Wire-Ground
494328
363
Puller-Flywheel(Optional Accessory)
19203
423
Screw
94625
455
Mitnehmer
222561
468
Screen-Flush Rotating
222562
726
Gear-Flywheel Ring (Includes Mounting Parts)
392134
727
Deckel
395405
Pos.
Bezeichnung
Ersatzteilnummer
309
Motor & Drive Assembly
394805
310
Bolt
94003
311
Kohlensatz
395538
333
Zuendspule
398811
334
Screw, Breaker Arm Mtg. Sem
93381
474
Stator-Alternator (Dual Circuit)
393474
482
Screw-Sem
93621
510
Drive Assembly (Incl. Ref.
490421
513
Clutch Assembly
398003
544
Armature Assembly
390837
728
Screw-Sem
93535
729
Clip-Relief
281159
783
Gear
280104
801
Deckel
394856
802
Deckel
395537
803
Housing Assembly
398159
851
Terminal-Ignition Cable
221798
876
Retainer & Pin
490467
877
Diode
393456
896
Spannstift
94288
Pos.
Bezeichnung
Ersatzteilnummer
121
Carburetor Overhaul Kit
495837
358
Dichtungssatz
393411
977
Dichtungs-Satz
494385
Gebrauchsanweisungen
Toro
Roth / TORO
Aufsitzmäher
Traktor
264-6
246 HE
244-5
212-H
212-5
17-44 HXLE
16-44 HXL
16-38 HXL
16-38 XLE
15-44 HXL
15-38 HXL
14-38 HXL
14-38 XL
13-38 HXL
13-38 XL
13-32 XLE
12-38 HXL
12-38 XL
12-32 XL
390/71201
390/71200
5910001
5900001
4900001
3900001
Peerlesss Getriebeachse Modell-Nr. 915-020
Motor B&S (Modell 283707-0156-01)
Motor B&S (Modell 254707-0128-01)
Riemenscheibe & Riemen (32 Schneideinheit) Pulley & Belt Assy. (32 Cutting Unit)
Gehäuse & Spindel (32 Schneideinheit) Deck & Spindle Assy. (32 Cutting Unit)
Schnitthöhe
Getriebeachse
Elektrik
Verstellung (Serie Nr. 3901529 & höher)
Verstellung (Serie Nr. 3900001-3901528)
Kupplung
Motor
Lenkung
Sitz
Vorderachse
Haube
Rahmen
264 H
265 H
267 H
268 H
270 H
520 xi
520 Lxi
523 Dxi
Rider
Mähwerke
Zubehör
Handgeräte
Robin
Impressum
(C) by motoruf