Zurück zu
>
Roth / TORO
>
Aufsitzmäher
>
Rider
>
12-32
>
375/70171
>
200000001
>
Lenkrad, Schalter & Schilder
Ersatzteillisten für Toro Roth / TORO Lenkrad, Schalter & Schilder
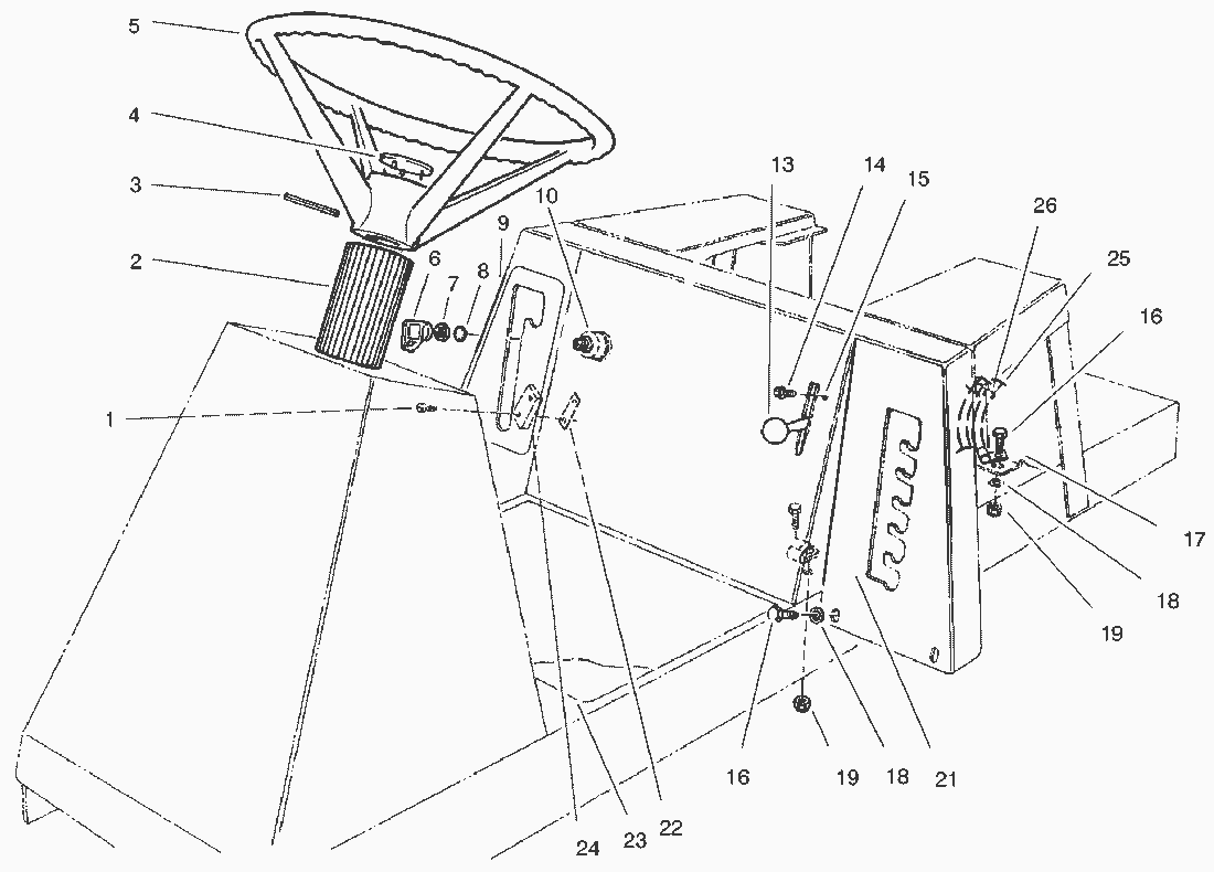
Pos.
Bezeichnung
Ersatzteilnummer
1
Schraube
95-3003
2
Lenkungsabdeckung
66-6740
3
Spannstift
32121-78
4
Deckel
92-7990
5
Wheel-Steering
49-3242
6
Schluessel
63-8360
7
Flachmutter
218-461
8
Lockwasher
3254-5
9
Klebeschild
92-7983
10
Zuendschloss
46-5780
13
Griff
233-25
14
Schraube
32104-76
15
Gaszug
92-0890
16
Schraube
322-5
17
Klemme
8830
18
Scheibe
3256-23
19
MUTTER
3296-29
21
Pvc-Klebeschild
92-7984
22
Mutter
3290-354
23
Decal-Instructions
93-7006
24
Schalter
88-9932
25
Kabel
54-3090
26
Tie Wrap
3290-378
Gebrauchsanweisungen
Toro
Roth / TORO
Aufsitzmäher
Traktor
Rider
HMR 1600
12-32 E
12-32
375/70171
210000001
200000001
Motor B&S (Modell 28M707-1182-E1)
Peerlesss Getriebeachse Modell-Nr. 915-919
Deflektor -Recycler
Mäher -Recycler (Fortsetzung)
Mäher -Recycler
Ständer
Hinterachse
Motor
Getriebegestänge
Sitz
Sitz & Seitenverkleidung
Gestänge
Lenkrad, Schalter & Schilder
Bremse & Kupplung
Vorderachse
Lenksäule
9900001
375/70084
11-32
10-32 E
8-25
110-4E
110-4
Mähwerke
Zubehör
Handgeräte
Robin
Impressum
(C) by motoruf