Zurück zu
>
Roth / TORO
>
Aufsitzmäher
>
Traktor
>
14-38 HXL
>
392/71219
>
7900001
>
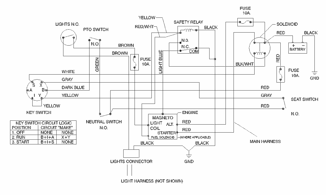
Elektro-Schaltplan
Ersatzteillisten für Toro Roth / TORO Elektro-Schaltplan
Pos.
Bezeichnung
Ersatzteilnummer
Sicherung 10a
218-578
Gebrauchsanweisungen
Toro
Roth / TORO
Aufsitzmäher
Traktor
264-6
246 HE
244-5
212-H
212-5
17-44 HXLE
16-44 HXL
16-38 HXL
16-38 XLE
15-44 HXL
15-38 HXL
14-38 HXL
392/71219
8900001
7900001
Motor (B&S Modell 28N777-174-01)
Motor (B&S Modell 28N777-0174-01)
Elektro-Schaltplan
Elektrik
Schnitthöhe
Aufhängung (38 Schneideinheit) Suspension Assy. (38 Cutting Unit)
Riemenscheibe & Riemen (38 Schneideinheit) Pulley & Belt Assy. (38 Cutting Unit)
Gehäuse (38 Schneideinheit) Deck Assy. (38 Cutting Unit)
Geschwindigkeitsbetätigung
Getriebeachse
Hinterrad
Kupplung
Motor & Kraftstofftank
Lenkung
Vorderachse
Sitz
Haube
Rahmen
392/71217
14-38 XL
13-38 HXL
13-38 XL
13-32 XLE
12-38 HXL
12-38 XL
12-32 XL
264 H
265 H
267 H
268 H
270 H
520 xi
520 Lxi
523 Dxi
Rider
Mähwerke
Zubehör
Handgeräte
Robin
Impressum
(C) by motoruf