Zurück zu
>
Roth / TORO
>
Handgeräte
>
Rasenmäher
>
2-Takt Radantrieb
>
237/22035
>
6000001
>
Auspuff
Ersatzteillisten für Toro Roth / TORO Auspuff
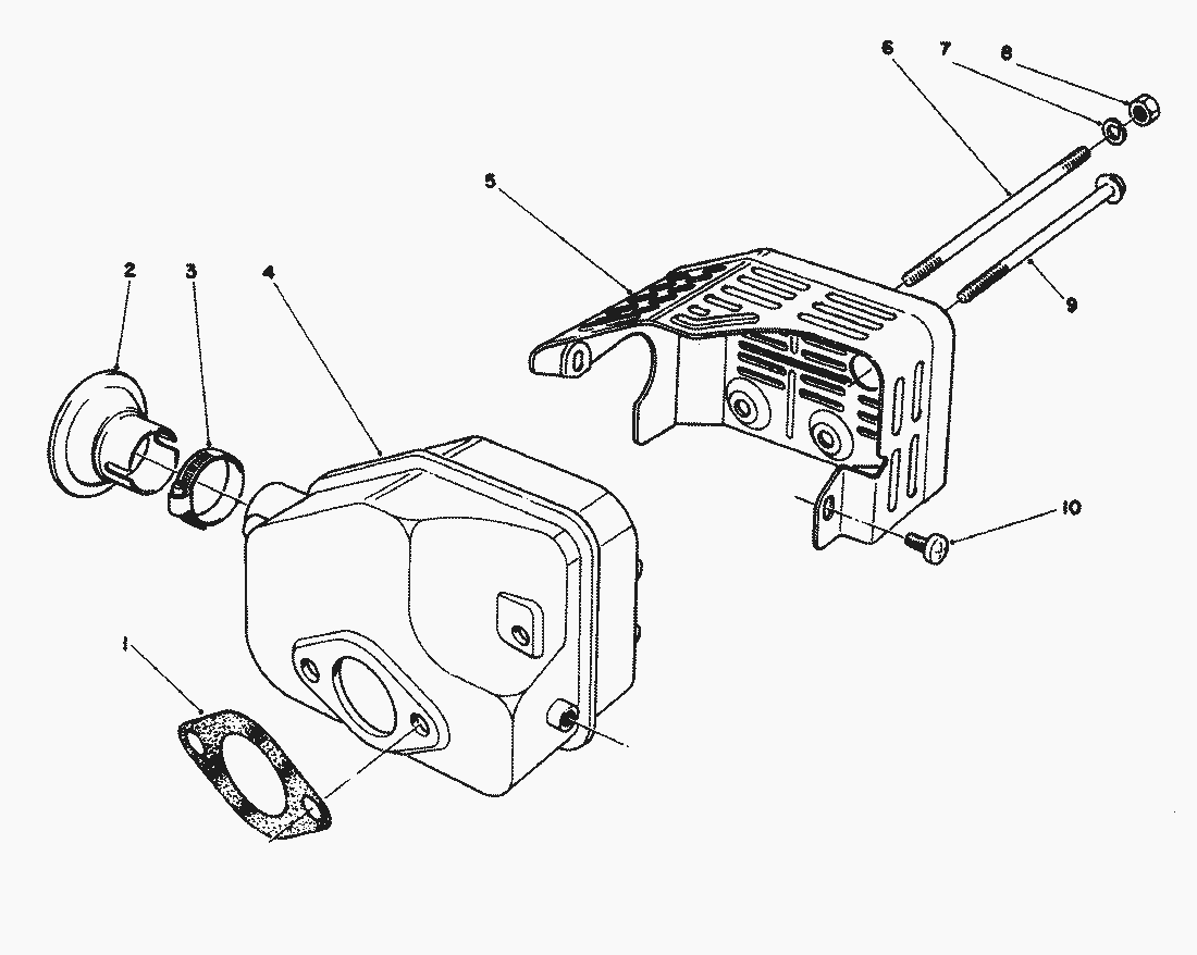
Pos.
Bezeichnung
Ersatzteilnummer
1
DICHTUNG
81-1080
2
81-0200
3
4
AUSPUFF
81-1090
5
SCHUTZGITTER
81-2450
6
STEHBOLZEN
81-1100
7
FEDERRING
81-1120
8
SECHSKANTMUTTER
81-1110
9
SCHRAUBE
81-1150
10
SCHRAUBE
81-1140
Gebrauchsanweisungen
Toro
Roth / TORO
Aufsitzmäher
Handgeräte
Kehrmaschinen
Schneefräsen
Sauger/Bläser
Rasenmäher
Grasfangvorrichtungen
4-Takt Radantrieb
4-Takt
2-Takt Radantrieb
295/26643
295/26643 B
295/26640 BC
295/26640 B
287/20916B
277
255/22700 BC
255/22700
239
237/22045
237/22045 B
237/22044 BC
237/22036
237/22035
6000001
Starter
Auspuff
Regler
Vergaser
Schwungrad & Zündspule
Teilemotor
Seitauswurf Modell-Nr. 59108 (wahlw.)
Metall-Fangvorrichtung (Modell 22099)
Fangkorb Nr. 11-5609
Kraftstofftank
Holm (Modell 22030)
Motor (Modell 22030)
Gehäuse (Modell 22030)
Gehäuse (Modell 22030)
234
224
222/16212 WG
2-Takt
Elektro
Akku
Robin
Impressum
(C) by motoruf