Zurück zu
>
Roth / TORO
>
Handgeräte
>
Rasenmäher
>
2-Takt Radantrieb
>
287/20916B
>
2000001
>
Auspuff (Modell-Nr. 47PM1-6)
Ersatzteillisten für Toro Roth / TORO Auspuff (Modell-Nr. 47PM1-6)
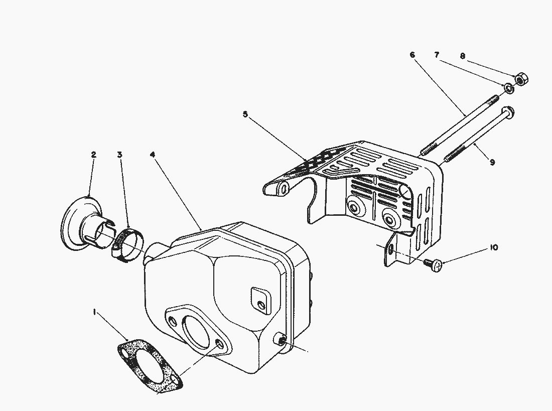
Pos.
Bezeichnung
Ersatzteilnummer
1
DICHTUNG
81-1080
2
81-0200
3
4
AUSPUFF
81-5690
5
SCHUTZGITTER
81-2450
6
STEHBOLZEN
81-1100
7
FEDERRING
81-1120
8
SECHSKANTMUTTER
81-1110
9
SCHRAUBE
81-1150
10
SCHRAUBE
81-1140
Gebrauchsanweisungen
Toro
Roth / TORO
Aufsitzmäher
Handgeräte
Kehrmaschinen
Schneefräsen
Sauger/Bläser
Rasenmäher
Grasfangvorrichtungen
4-Takt Radantrieb
4-Takt
2-Takt Radantrieb
295/26643
295/26643 B
295/26640 BC
295/26640 B
287/20916B
2000001
Auspuff (Modell-Nr. 47PM1-6)
Vergaser (Modell-Nr. 47PM1-6)
Regler (Modell-Nr. 47PM1-6)
Starter (Modell-Nr. 47PM1-6)
Zündung (Modell-Nr. 47PM1-6)
Kurbelwelle (Modell-Nr. 47PM1-6)
Fangkorb
Holm (Antrieb)
Holm (geschoben)
Getriebe Nr. 71-8250 (Modell-Nr. 20916B)
Hinterachse (Antrieb)
Motor (Modell-Nr. 20916B)
Gehäuse (Modell-Nr. 20916B)
1000001
277
255/22700 BC
255/22700
239
237/22045
237/22045 B
237/22044 BC
237/22036
237/22035
234
224
222/16212 WG
2-Takt
Elektro
Akku
Robin
Impressum
(C) by motoruf