Zurück zu
>
Roth / TORO
>
Aufsitzmäher
>
Mähwerke
>
122cm Seit
>
534/78260
>
4900001
>
Aufhängung
Ersatzteillisten für Toro Roth / TORO Aufhängung
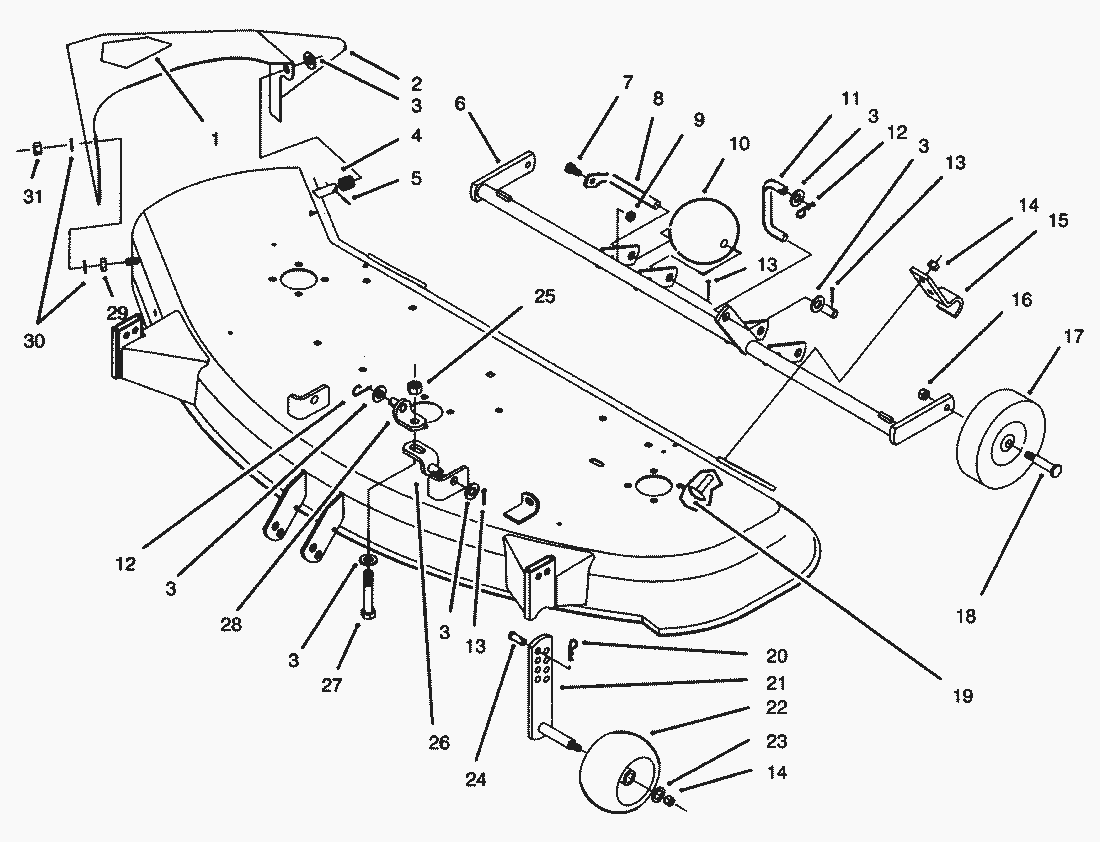
Pos.
Bezeichnung
Ersatzteilnummer
Chute & Decal ASM (Incl. Ref.
88-2750-01
Pos.
Bezeichnung
Ersatzteilnummer
1
Klebeschild
93-1122
3
Scheibe
3256-26
4
Feder
93-1630
5
Splint
3272-10
6
Support-Gage Wheel
79-4140-03
7
Schraube
321-4
8
Rollenachse
118960
9
MUTTER
3296-42
10
Rolle
29-4820
11
Hubgestaenge
79-5380
12
Cotter-Hair Pin
933506
13
Splint
3272-21
14
Mutter
3296-39
15
Clamp
110837
16
Hex Locknut
32146-2
17
Rad
110506
18
Bolzen (5)
5188
19
Bolzen
3231-25
20
Cotter-Hairpin
933505
21
Radaufhaengung
68-2350
22
Rad
68-2730
23
Scheibe
3256-24
24
Bolzen
283-2
25
Mutter
3218-5
26
Hebel
86-9240
27
Schraube
325-13
28
Hebel
86-9250
29
Buechse
116080
30
Scheibe
93-1633
31
Nut-Jam
9152366
Gebrauchsanweisungen
Toro
Roth / TORO
Aufsitzmäher
Traktor
Rider
Mähwerke
91cm Heck
97cm Seit
107cm Seit
112cm Seit
122cm Seit
534/78260
3900001
4900001
Gehäuse & Spannrolle
Abdeckung & Spindel
Aufhängung
5900001
6900001
7900001
534/78268
132cm Seit
152cm Seit
Zubehör
Handgeräte
Robin
Impressum
(C) by motoruf