Zurück zu
motoruf
Warenkorb

Ersatzteillisten für Toro Roth / TORO Antrieb Betätigung




Ersatzteilliste


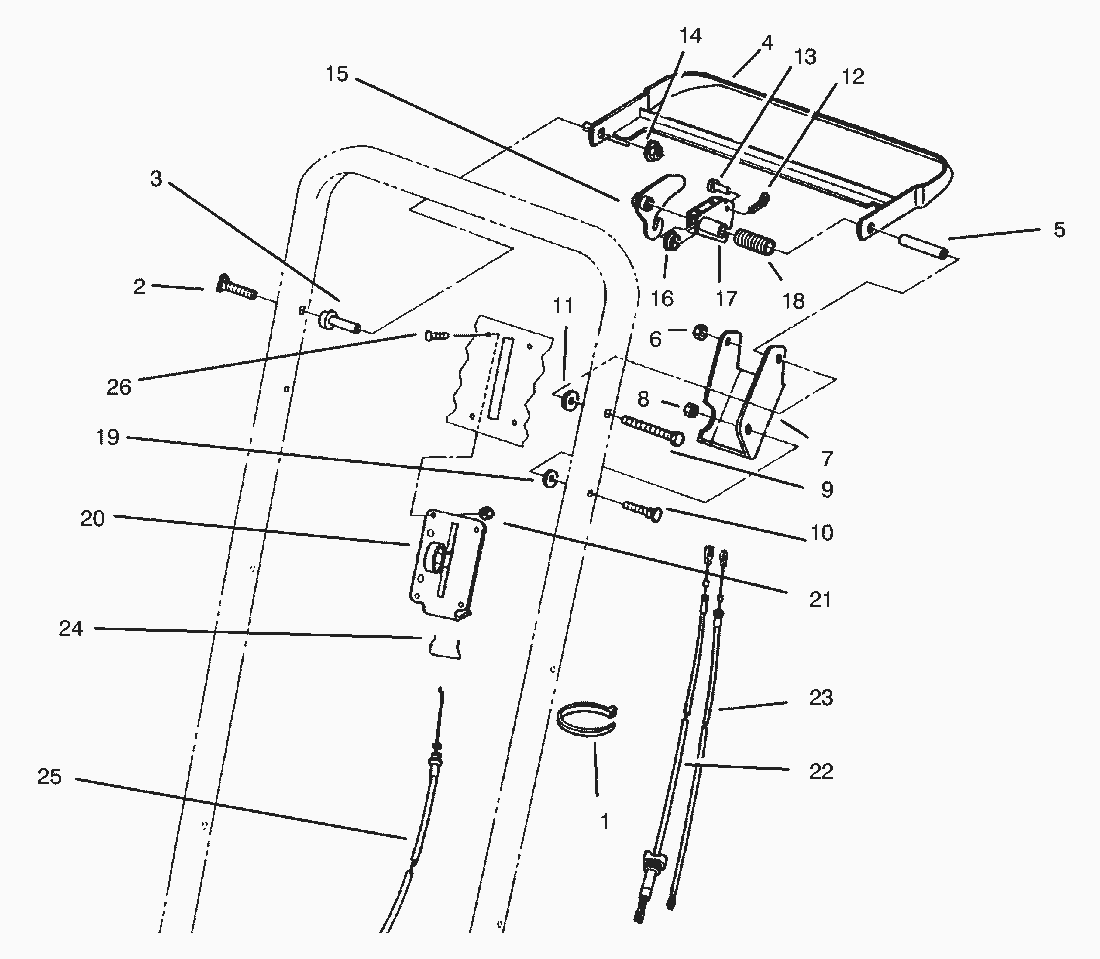
Pos.BezeichnungErsatzteilnummer
1Tie Wrap3290-378
2Schraube17-9427
3Buechse49-1631
4Bar-Control84-8940
5Distanzbuechse84-9030
6MUTTER3296-29
7Bracket-Control92-1778
8MUTTER3296-42
9Schraube322-19
10SCHRAUBE46-6430
11Spacer71-9310
12Splint3272-1
13Bolzen84-9040
14Mutter3296-58
15Schaltnocken84-9000
16Buechse86-9320
17Bremshebel84-8990
18Druckfeder85-6750
19Spacer71-9320
20Gashebel85-6770
21Mutter3296-2
22Getriebezug84-9120
23Kupplungszug84-9110
24Halterung85-6780
25Gaszug85-6760
26Schraube3250-14
Gebrauchsanweisungen
Toro
Impressum
(C) by motoruf