Sentar SE 37 LI 18AWG3D-663 (2012) Grasfangsack Ersatzteile
Grasfangsack 18AWG3D-663 (2012)

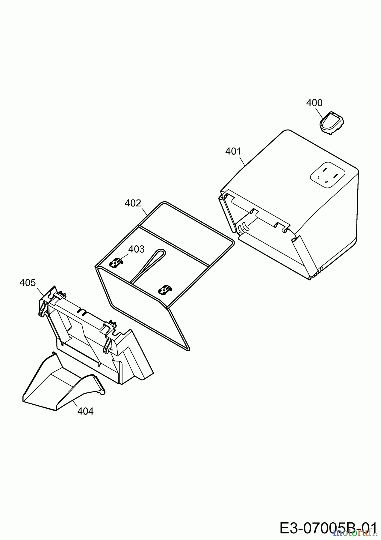
Hier finden Sie die Ersatzteilzeichnung für Sentar Akkumäher SE 37 LI 18AWG3D-663 (2012) Grasfangsack. Wählen Sie das benötigte Ersatzteil aus der Ersatzteilliste Ihres Sentar Gerätes aus und bestellen Sie einfach online. Viele Sentar Ersatzteile halten wir ständig in unserem Lager für Sie bereit.
| BildNr | Artikel Nummer | Bezeichnung | |
| 400 | 4880061 | FUELLSTANDSANZEIGE KPL (RAL 30 | |
| 400 | 764-04134 | FANGSACKTUCH 37ER, SCHWARZ | |
| 401 | 4907035 | ||
| 402 | 4921309 | Sicherungsriegel schwarz | |
| 403 | 731-08325 | SCHÜTTE 37E, SCHWARZ | |
| 404 | 731-08324 | MUNDSTÜCK 37ER, SCHWARZ | |


Qualitätsmanagement
Informieren Sie uns, wenn Sie einen Fehler gefunden haben.

