Einstellungen Computer

Toro 74380 (Z4200) - TimeCutter Z4200 Riding Mower, 2008 (280000001-280999999) OIL PAN AND LUBRICATION ASSEMBLY KOHLER SV590-0023 Ersatzteile

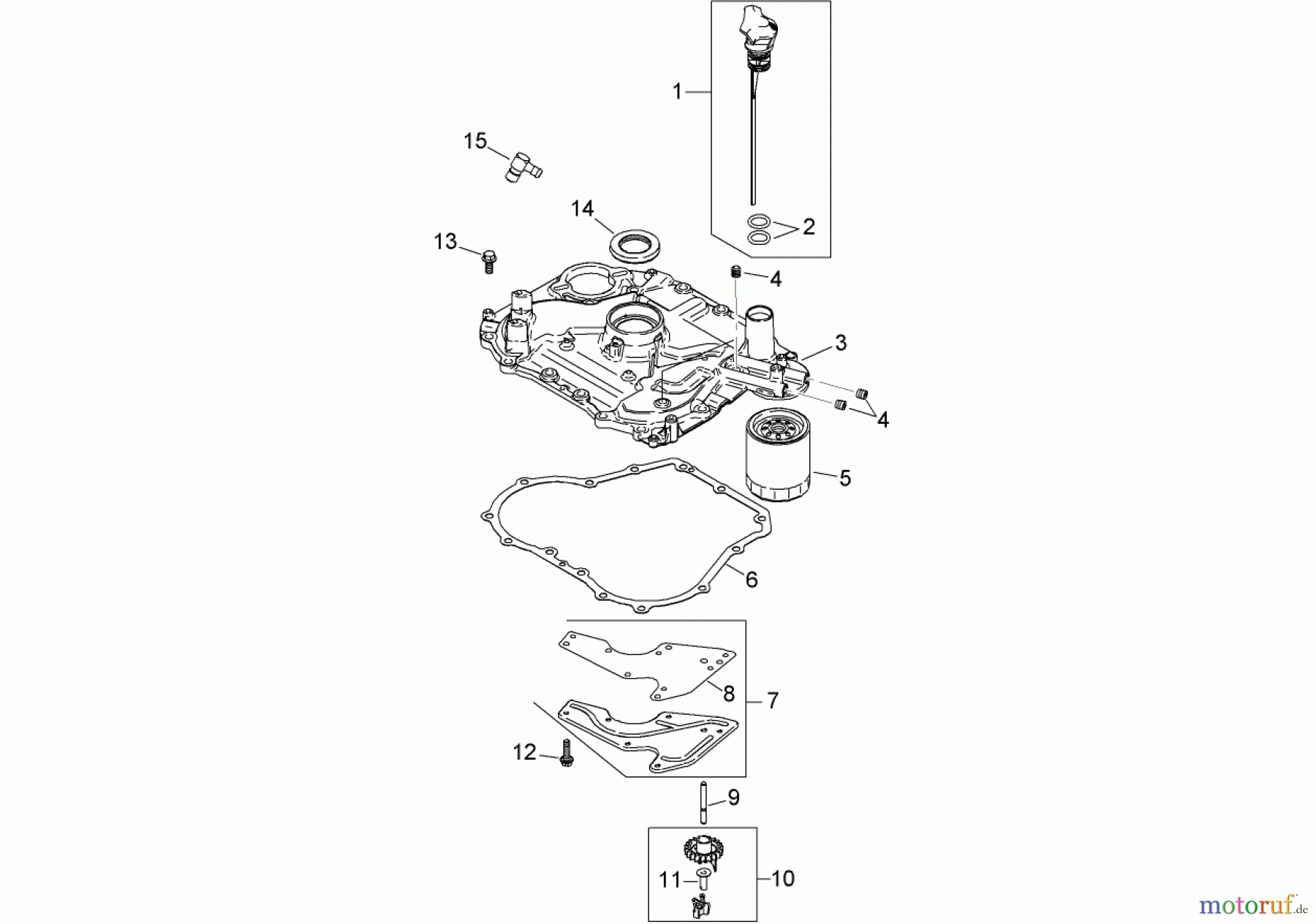
OIL PAN AND LUBRICATION ASSEMBLY KOHLER SV590-0023 74380 (Z4200) - Toro TimeCutter Z4200 Riding Mower, 2008 (280000001-280999999)

 Toro Neu Mowers, Zero-Turn 74380 (Z4200) - Toro TimeCutter Z4200 Riding Mower, 2008 (280000001-280999999) OIL PAN AND LUBRICATION ASSEMBLY KOHLER SV590-0023

Hier finden Sie die Ersatzteilzeichnung für Toro Neu Mowers, Zero-Turn 74380 (Z4200) - Toro TimeCutter Z4200 Riding Mower, 2008 (280000001-280999999) OIL PAN AND LUBRICATION ASSEMBLY KOHLER SV590-0023. Wählen Sie das benötigte Ersatzteil aus der Ersatzteilliste Ihres Toro Gerätes aus und bestellen Sie einfach online. Viele Toro Ersatzteile halten wir ständig in unserem Lager für Sie bereit.

Rasen
Bankeinzug, MasterCard, Visa, American Express, PayPal, Nachnahme, Vorauskasse, Sofortüberweisung
Datenschutzerklärung Impressum
Qualitätsmanagement
Informieren Sie uns, wenn Sie einen Fehler gefunden haben.