Toro 30544 (120) - 44" Side Discharge Mower, Groundsmaster 120, 1988 (800001-899999) DRIVE SPINDLE N0. 27-0871 Ersatzteile
DRIVE SPINDLE N0. 27-0871 30544 (120) - Toro 44" Side Discharge Mower, Groundsmaster 120, 1988 (800001-899999)

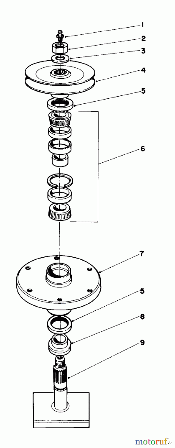
Hier finden Sie die Ersatzteilzeichnung für Toro Neu Mowers, Deck Assembly Only 30544 (120) - Toro 44" Side Discharge Mower, Groundsmaster 120, 1988 (800001-899999) DRIVE SPINDLE N0. 27-0871. Wählen Sie das benötigte Ersatzteil aus der Ersatzteilliste Ihres Toro Gerätes aus und bestellen Sie einfach online. Viele Toro Ersatzteile halten wir ständig in unserem Lager für Sie bereit.
| BildNr | Artikel Nummer | Bezeichnung | |
| 1 | TR302-2 | Fettnippel | |
| 2 | TR32146-20 | Mutter | |
| 3 | TR7-4150 | WASHER | |
| 4 | TR56-2510-03 | Riemenscheibe | |
| 5 | TR253-139 | SEAL-OIL | |
| 6 | TR46-8530 | BEARING ASM | |
| 7 | TR61-4160 | HOUSING-SPINDLE | |
| 8 | TR27-0950 | Lagerbuechse | |
| 9 | TR27-0920 | SHAFT | |



