Tanaka TOB-550 - 5.5HP Outboard Motor Tools Ersatzteile
Tools TOB-550 - Tanaka 5.5HP Outboard Motor

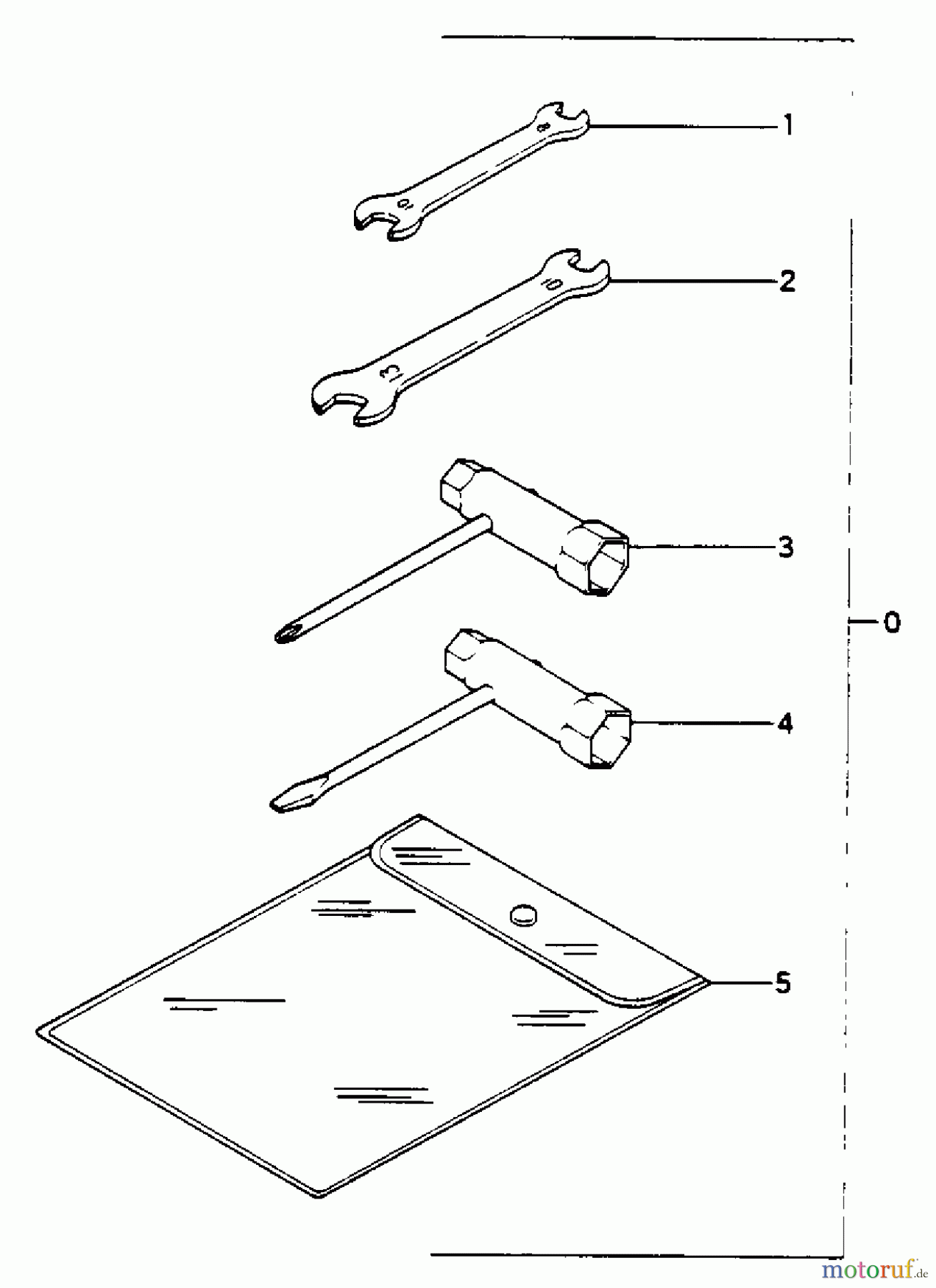
Hier finden Sie die Ersatzteilzeichnung für Tanaka Botsmotoren TOB-550 - Tanaka 5.5HP Outboard Motor Tools. Wählen Sie das benötigte Ersatzteil aus der Ersatzteilliste Ihres Tanaka Gerätes aus und bestellen Sie einfach online. Viele Tanaka Ersatzteile halten wir ständig in unserem Lager für Sie bereit.
| BildNr | Artikel Nummer | Bezeichnung | |
| 0 | 98535600900 | ||
| 1 | 668-4766 | Maulschluessel 8x10 . | |
| 2 | 669-3479 | Schraubenschluessel . | |
| 3 | 669-3588 | Kombibox | |
| 4 | 82820000800 | ||
| 5 | 6694812 | ||


Qualitätsmanagement
Informieren Sie uns, wenn Sie einen Fehler gefunden haben.

