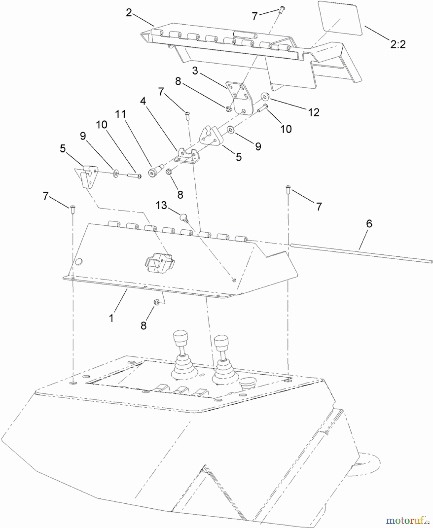
Zubehör CONTROL COVER KIT ASSEMBLY Ersatzteile
Artikel Nummer:
TRST50151
BildNr:
6
Nicht mehr lieferbar.

Hier finden Sie die Ersatzteilzeichnung für Zubehör 68070 - Toro Control Cover Kit, TR-34D Trench Roller CONTROL COVER KIT ASSEMBLY. Wählen Sie das benötigte Ersatzteil aus der Ersatzteilliste Ihres Zubehör Gerätes aus und bestellen Sie einfach online. Viele Zubehör Ersatzteile halten wir ständig in unserem Lager für Sie bereit.
| BildNr | Artikel Nummer | Bezeichnung | |
| 1 | TRST50140-01 | ||
| 2 | TR127-1696 | ||
| 2:2 | TR127-1655 | ||
| 3 | TRST50148-01 | ||
| 4 | TRST50149-01 | ||
| 5 | TRST50150 | ||
| 6 | TRST50151 | ||
| 7 | TR119-6906 | SCREW-HSBH | |
| 8 | TR119-6921 | NUT-HEX, FLANGE | |
| 9 | TR3256-2 | Scheibe | |
| 10 | TR120-0834 | SCREW-HSBH | |
| 11 | TR1-603403 | BOLT-SHOULDER | |
| 12 | TR104-8301 | Mutter | |
| 13 | TRST81187 | ||



