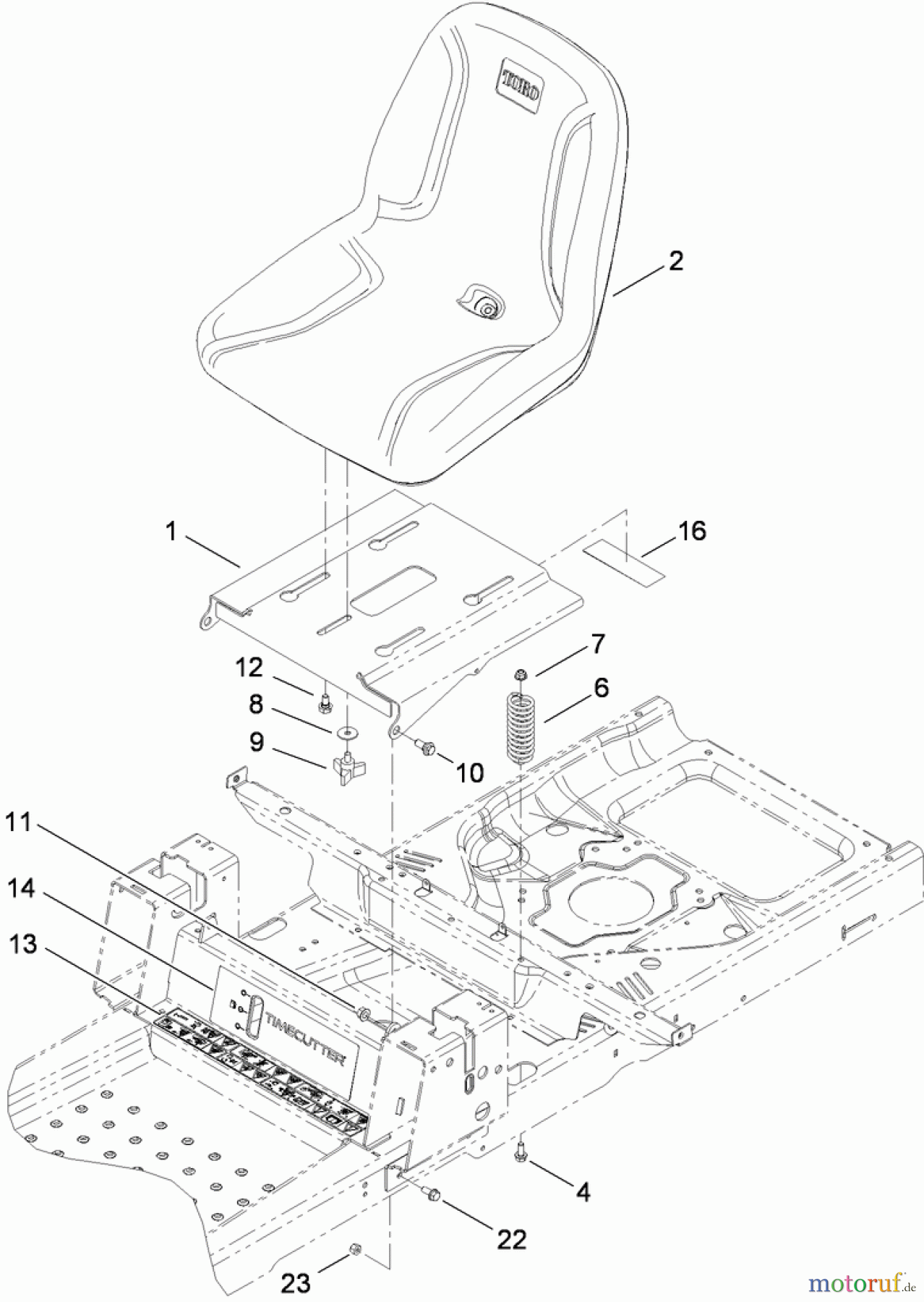
Toro 74381 (Z4202) - TimeCutter Z4202 Riding Mower, 2010 (310000001-310999999) SEAT ASSEMBLY Ersatzteile
Sitzfeder
Artikel Nummer:
TR92-7054
BildNr:
6
42.54 €
für EU incl. MwSt., zzgl. Versand
Der Artikel wurde in den Einkaufswagen gelegt!
Wird für Sie bestellt: Lieferzeit ca. 5 Werktage.
Hier finden Sie die Ersatzteilzeichnung für Toro Neu Mowers, Zero-Turn 74381 (Z4202) - Toro TimeCutter Z4202 Riding Mower, 2010 (310000001-310999999) SEAT ASSEMBLY. Wählen Sie das benötigte Ersatzteil aus der Ersatzteilliste Ihres Toro Gerätes aus und bestellen Sie einfach online. Viele Toro Ersatzteile halten wir ständig in unserem Lager für Sie bereit.





