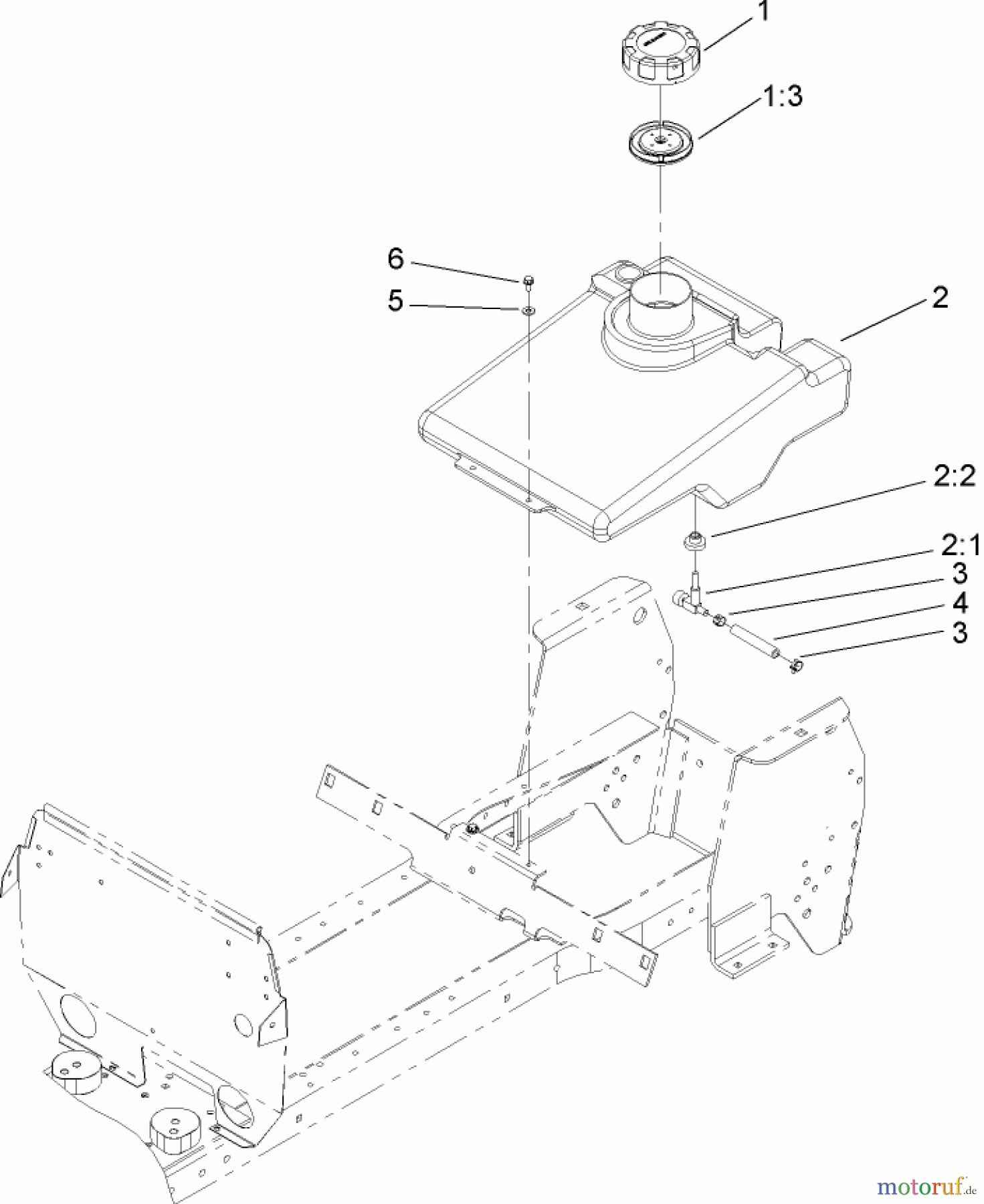
Toro 72211 (417XT) - 417XT Garden Tractor, 2004 (240000001-240999999) FUEL TANK ASSEMBLY Ersatzteile
Scheibe
Artikel Nummer:
TR3256-22
BildNr:
5
Nicht mehr lieferbar.

Hier finden Sie die Ersatzteilzeichnung für Toro Neu Mowers, Lawn & Garden Tractor Seite 1 72211 (417XT) - Toro 417XT Garden Tractor, 2004 (240000001-240999999) FUEL TANK ASSEMBLY. Wählen Sie das benötigte Ersatzteil aus der Ersatzteilliste Ihres Toro Gerätes aus und bestellen Sie einfach online. Viele Toro Ersatzteile halten wir ständig in unserem Lager für Sie bereit.
| BildNr | Artikel Nummer | Bezeichnung | |
| 1 | TR88-3980 | Tankdeckel | |
| 1:3 | TR88-4010 | Deckeldichtung | |
| 2 | TR94-6928 | Benzintank | |
| 2:1 | TR104048 | Benzinhahn | |
| 2:2 | TR46-6560 | BUSHING | |
| 3 | TR2412-98 | CLAMP-HOSE | |
| 4 | TR107-9298 | HOSE-FUEL | |
| 5 | TR3256-22 | Scheibe | |
| 6 | TR32144-4 | Schraube | |



