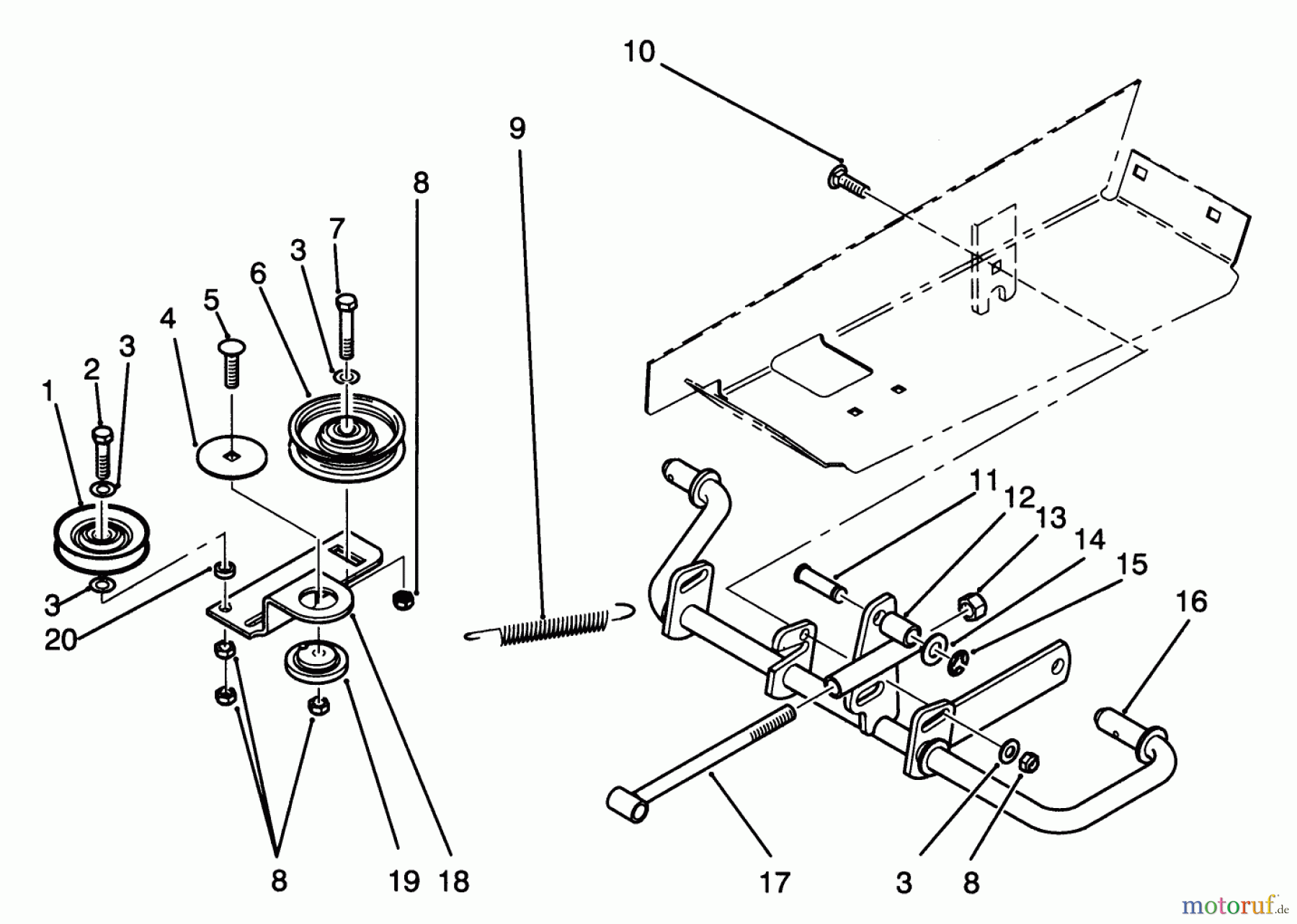
Toro 72041 (244-H) - 244-H Yard Tractor, 1993 (3900001-3999999) IDLER AND PEDAL SHAFT ASSEMBLY Ersatzteile
Bolzen
Artikel Nummer:
TR3231-25
BildNr:
10
2.60 €
für EU incl. MwSt., zzgl. Versand
Der Artikel wurde in den Einkaufswagen gelegt!
Wird für Sie bestellt: Lieferzeit ca. 5 Werktage.
Hier finden Sie die Ersatzteilzeichnung für Toro Neu Mowers, Lawn & Garden Tractor Seite 1 72041 (244-H) - Toro 244-H Yard Tractor, 1993 (3900001-3999999) IDLER AND PEDAL SHAFT ASSEMBLY. Wählen Sie das benötigte Ersatzteil aus der Ersatzteilliste Ihres Toro Gerätes aus und bestellen Sie einfach online. Viele Toro Ersatzteile halten wir ständig in unserem Lager für Sie bereit.




