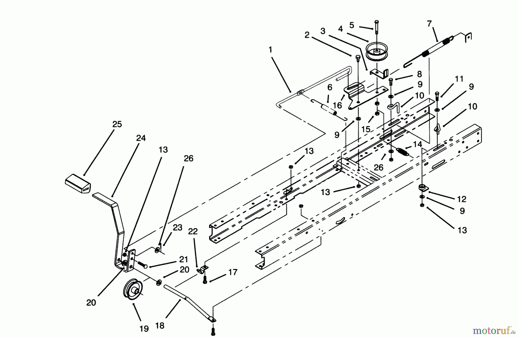
Toro 71205 (13-38XL) - 13-38XL Lawn Tractor, 1995 (59000001-59999999) CLUTCH ASSEMBLY Ersatzteile
Mutter
Artikel Nummer:
TR3296-59
BildNr:
15
2.39 €
für EU incl. MwSt., zzgl. Versand
Der Artikel wurde in den Einkaufswagen gelegt!
Wird für Sie bestellt: Lieferzeit ca. 5 Werktage.
Hier finden Sie die Ersatzteilzeichnung für Toro Neu Mowers, Lawn & Garden Tractor Seite 1 71205 (13-38XL) - Toro 13-38XL Lawn Tractor, 1995 (59000001-59999999) CLUTCH ASSEMBLY. Wählen Sie das benötigte Ersatzteil aus der Ersatzteilliste Ihres Toro Gerätes aus und bestellen Sie einfach online. Viele Toro Ersatzteile halten wir ständig in unserem Lager für Sie bereit.


Qualitätsmanagement
Informieren Sie uns, wenn Sie einen Fehler gefunden haben.


