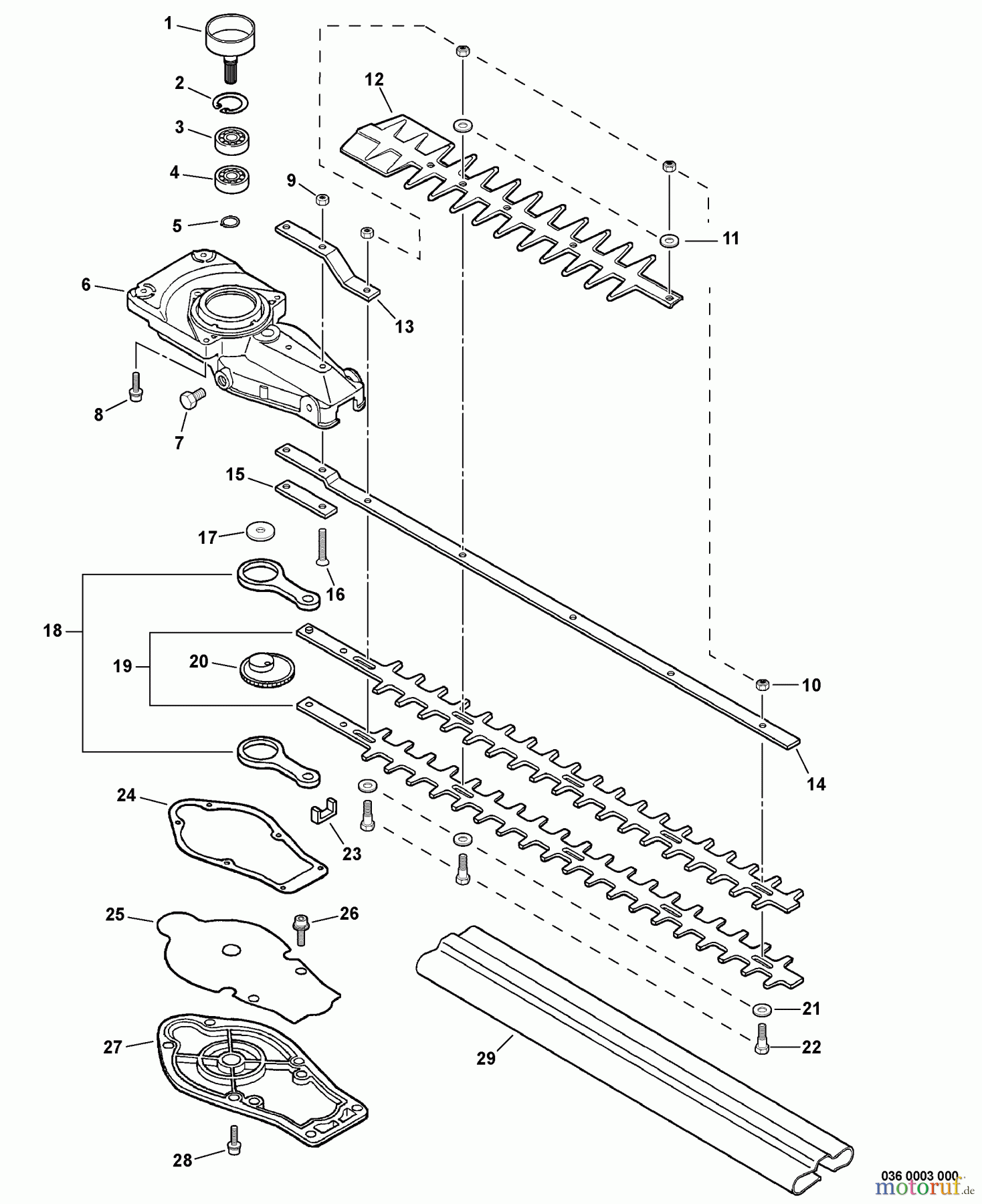
Echo HC-160 - Hedge Trimmer, S/N: S76912001001 - S76912999999 Gear Case, Blades Ersatzteile
Scheibe
Artikel Nummer:
16-610350-04560
BildNr:
17
2.69 €
für EU incl. MwSt., zzgl. Versand
Der Artikel wurde in den Einkaufswagen gelegt!
Wird für Sie bestellt: Lieferzeit ca. 5 Werktage.
Hier finden Sie die Ersatzteilzeichnung für Echo Heckenscheren HC-160 - Echo Hedge Trimmer, S/N: S76912001001 - S76912999999 Gear Case, Blades. Wählen Sie das benötigte Ersatzteil aus der Ersatzteilliste Ihres Echo Gerätes aus und bestellen Sie einfach online. Viele Echo Ersatzteile halten wir ständig in unserem Lager für Sie bereit.


Qualitätsmanagement
Informieren Sie uns, wenn Sie einen Fehler gefunden haben.

