Zurück zu
>
Aufsitzmäher
>
Scooter
>
OHV
>
Scooter OHV 3 ( 1997 / 6990000-A )
>
Centura 65 OHV ( 2004 / 2037065- )
>
Vergaser (2037065-2004-2)
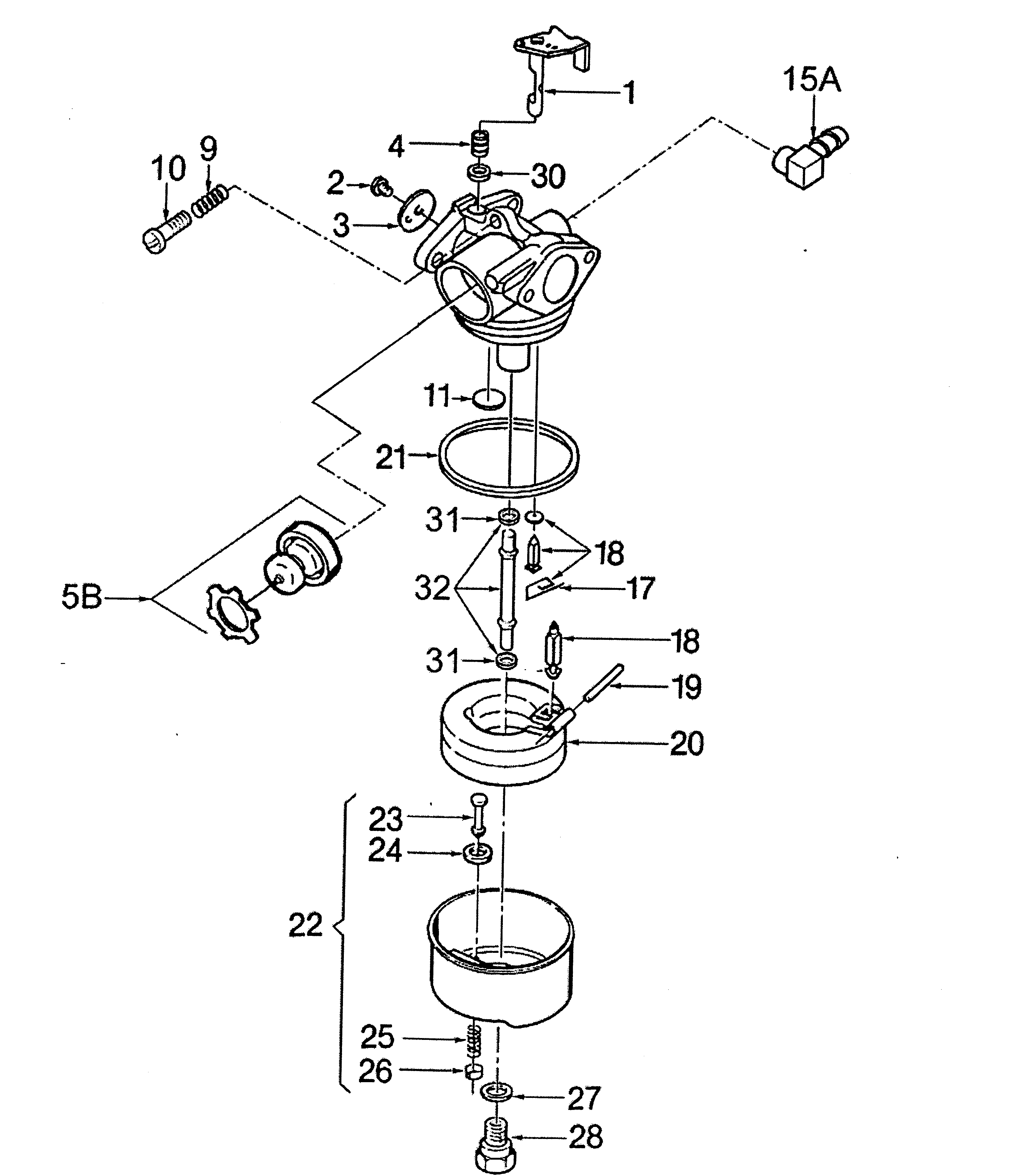
Ersatzteillisten für Wolf Aufsitzmäher Vergaser (2037065-2004-2)
Pos.
Bezeichnung
Ersatzteilnummer
1
Drosselklappenschaft kpl.
2087 450
2
Drosselklappenschraube 4-40
2087 452
3
Drosselklappe
2034 138
4
Rückholfeder
2034 139
5B
Primer kpl.
2034 020
9
Feder
2034 140
10
Schraube
2034 141
11
Blindstopfen
2087 454
15A
Anschlußstück
2087 463
17
Halter für Schwimmernadel
2087 456
18
Schwimmernadel kpl. (inkl.17)
2087 455
19
Schwimmerschaft
2087 458
20
Schwimmer
2087 457
21
Dichtung
2087 462
22
Schwimmergehäuse kpl. (inkl.-23,24,25,26)
2034 307
23
Tupfer
1032 451
24
Dichtung
1032 449
25
Feder
1032 447
26
Halter
1032 446
27
Dichtung
2034 142
28
Hauptdüse
2039 102
30
Schmierfilz
1038 414
31
O - Ring
2038 127
32
Reparatursatz
2038 128
***
Vergaser
2034 013
Gebrauchsanweisungen
Wolf
Handgeräte
Heckenscheren
Universalscheren
Handgrasscheren
Astscheren
Baumscheren
Baumpflege
Beleuchtungssysteme
Accuscheren
Häcksler
Sägen
Trimmer
Spindelmäher
Streuwagen / Portax
Schlauchwagen
Vertikutierer / Lüfter / Aerifizierer
Mäher
Aufsitzmäher
Scooter
SV
OHV
Scooter OHV 3 ( 1997 / 6990000-A )
Datenblatt (6990000a-1997-1)
Oberrahmen, Lenkung (6990000a-1997-2)
Unterrahmen, Höhenverstellung (6990000a-1997-3)
Antrieb, Fahrwerk (6990000a-1997-4)
Mähwerk (6990000a-1997-5)
Verkleidung, Sitz (6990000a-1997-6)
Fangsack, Heckklappe (6990000a-1997-7)
Kabelbaum (6990000a-1997-8)
Futura 60 ES ( 1997 / 2034000- )
Centura 65 OHV ( 2004 / 2037065- )
Motor (2037065-2004-1)
Vergaser (2037065-2004-2)
Elektr. Anlasser (2037065-2004-3)
Scooter OHV 3 ( 1998 / 6990000-A, B )
Scooter OHV 3 ( 1999 / 6990000-B, C )
Scooter OHV 3 ( 2001 / 6995000-A )
Scooter OHV 3 ( 2001 / 6995000-B )
Scooter OHV 3 ( 2003 / 6995000-D )
Scooter OHV 3 ( 2003 / 6995000-C )
Moto Verte
Getriebe
Cart
Trac
Benzinmotoren
Zubehör
Impressum
(C) by motoruf