Zurück zu
>
Mäher
>
Benzin
>
Antrieb ab 43 cm
>
6er
>
6.51 BA ( 2000 / 6950580-A )
>
XE 55 I/C ( 2000 / 2074050- )
>
Tank, Abdeckung XTE 35/40 (2074050-2000-8)
Ersatzteillisten für Wolf Mäher Tank, Abdeckung XTE 35/40 (2074050-2000-8)
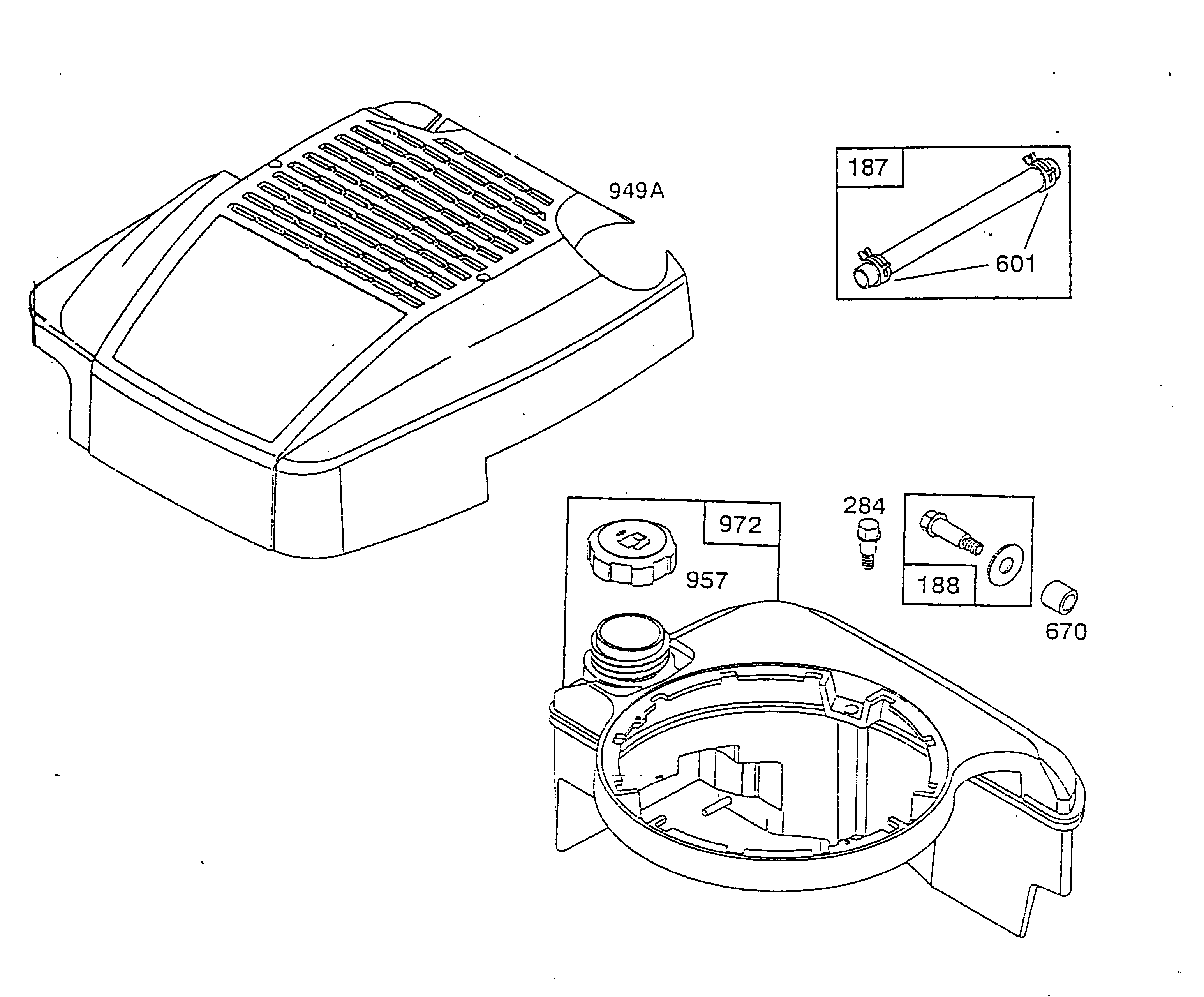
Pos.
Bezeichnung
Ersatzteilnummer
187
Vergaser kpl.
2063 061
188
Schraube
2003 413
284
Schraube
2063 316
670
Distanzstück
2003 416
949A
Abdeckhaube
2066 300
957
Tankdeckel
2003 501
972
Tank kpl. XTE 35
2059 500
972
Kraftstoffbehälter
2059 510
Gebrauchsanweisungen
Wolf
Handgeräte
Heckenscheren
Universalscheren
Handgrasscheren
Astscheren
Baumscheren
Baumpflege
Beleuchtungssysteme
Accuscheren
Häcksler
Sägen
Trimmer
Spindelmäher
Streuwagen / Portax
Schlauchwagen
Vertikutierer / Lüfter / Aerifizierer
Mäher
Accu
Benzin
Schiebe bis 42 cm
Schiebe ab 43 cm
Antrieb bis 42 cm
Antrieb ab 43 cm
2er
4er
6er
6.51 BA ( 1996 / 6950580-A )
6.46 BA ( 1996 / 6966580-A )
6.46 BAM ( 1996 / 6948580-A )
6.51 BA ( 2000 / 6950580-A )
Datenblatt (6950580a-2000-1)
Chassis (6950580a-2000-2)
Griff (6950580a-2000-3)
XE 55 I/C ( 2000 / 2074050- )
Kurbelgehäuse (2074050-2000-1)
Kolben, Ventile, Kurbelwelle (2074050-2000-2)
Ölwanne (2074050-2000-3)
Vergaser, Regelung (2074050-2000-4)
Luftfilter XTE 35/40 (2074050-2000-5)
Luftfilter XE 50/55 (2074050-2000-6)
Schwungrad, Lüfterhaube (2074050-2000-7)
Tank, Abdeckung XTE 35/40 (2074050-2000-8)
Tank XE 50/55 (2074050-2000-9)
Schalldämpfer, Zündspule XTE 35/40 (2074050-2000-10)
Schalldämpfer, Zündspule XE 50/55 (2074050-2000-11)
Starter (2074050-2000-12)
Moto-Verte
Concept
Premio
Power Edition
Esprit
Sonstige
Elektrostart / Touch&Mow
Elektro
Aufsitzmäher
Benzinmotoren
Zubehör
Impressum
(C) by motoruf