Zurück zu
>
Accuscheren
>
Accu
>
Accu 40 Standard ( 2003 / 7098005-A, B )
>
Gehäuse, Schalter (7098005ab-2003-2)
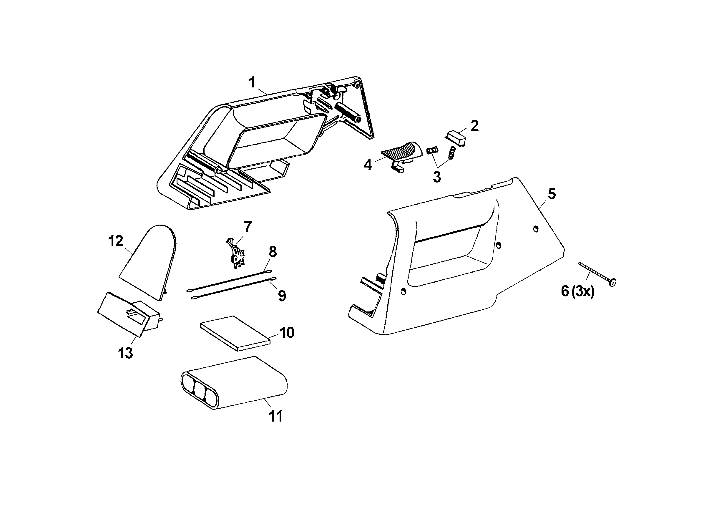
Ersatzteillisten für Wolf Accuscheren Gehäuse, Schalter (7098005ab-2003-2)
Pos.
Bezeichnung
Ersatzteilnummer
1
Gehäuse, links
7098 315
2
Sicherheitsknopf
7098 103
3
Druckfeder
7090 208
4
Schaltknopf
7098 104
5
Gehäuse, rechts
7098 316
6
Schraube KA 40x12
0012 897
7
Mikroschalter
7750 101
8
Kabel, gelb
7090 212
9
Kabel, rot
7090 211
10
Druckpolster
7093 221
11
Batteriepaket
7088 056
12
Deckel
7098 301
13
Steckerleiste kpl.
7098 013
Gebrauchsanweisungen
Wolf
Handgeräte
Heckenscheren
Universalscheren
Handgrasscheren
Astscheren
Baumscheren
Baumpflege
Beleuchtungssysteme
Accuscheren
Accu
Accu 45 ( 2002 / 7084000-A )
Accu 60 ( 2002 / 7085000-A )
Accu 75 ( 2002 / 7086000-A )
Accu BS 60 ( 2002 / 7087000-A )
Accu BS 45 ( 2002 / 7087005-A )
Accu 45 ( 2003 / 7084000-A )
Accu 45 Classic ( 2003 / 7084002-A )
Accu 60 ( 2003 / 7085000-A )
Accu 60 Comfort ( 2003 / 7085002-A )
Accu 75 ( 2003 / 7086000-A )
Accu 75 Professional ( 2003 / 7086002-A )
Accu BS 60 ( 2003 / 7087000-A )
Accu BS 60 Comfort ( 2003 / 7087002-A )
Accu BS 60 ( 2003 / 7087004-A )
Accu BS 45 ( 2003 / 7087005-A )
Accu 40 Standard ( 2003 / 7098005-A, B )
Datenblatt (7098005ab-2003-1)
Gehäuse, Schalter (7098005ab-2003-2)
Messer, Motor (7098005ab-2003-3)
Accu 30 ( 2004 / 7082000-A )
Accu 40 ( 2004 / 7082006-A )
Accu BS 45 ( 2004 / 7089000-A )
Accu BS 50 ( 2004 / 7089080-A )
Accu 45 ( 2005 / 7084000-B - D )
Accu 45 Classic ( 2005 / 7084002-B - D )
Accu 45 ( 2005 / 7084090-B - D )
Accu 60 ( 2005 / 7085000-B - D )
Accu 60 Comfort ( 2005 / 7085002-B - D )
Accu 75 ( 2005 / 7086000-B - D )
Accu 75 Professional ( 2005 / 7086002-B - D )
Accu BS 60 ( 2005 / 7087000-B - D )
Accu BS 60 Comfort ( 2005 / 7087002-B - D )
Accu BS 60 ( 2005 / 7087004-B - D )
Accu BS 60 Comfort ( 2005 / 7087006-B - D )
Accu BS 60 ( 2005 / 7087008-B - D )
Accu 60 ( 2005 / 7087094-B - D )
Accu 60 ( 2006 / 7084680-A )
Accu 60 ( 2006 / 7084682-A )
Accu 80 ( 2006 / 7085680-A )
Accu 80 ( 2006 / 7085682-A )
Accu 100 ( 2006 / 7086680-A )
Accu 100 ( 2006 / 7086682-A )
Accu BS 80 ( 2006 / 7087686-A )
SP / SB
Häcksler
Sägen
Trimmer
Spindelmäher
Streuwagen / Portax
Schlauchwagen
Vertikutierer / Lüfter / Aerifizierer
Mäher
Aufsitzmäher
Benzinmotoren
Zubehör
Impressum
(C) by motoruf