Zurück zu
>
Mäher
>
Benzin
>
Elektrostart / Touch&Mow
>
Concept
>
Concept 47 BAI ( 2003 / 6460000-B, C, D )
>
55 X-ES ( 2003 / 2076060- )
>
Elektrischer Anlasser (2076060-2003-8)
Ersatzteillisten für Wolf Mäher Elektrischer Anlasser (2076060-2003-8)
Pos.
Bezeichnung
Ersatzteilnummer
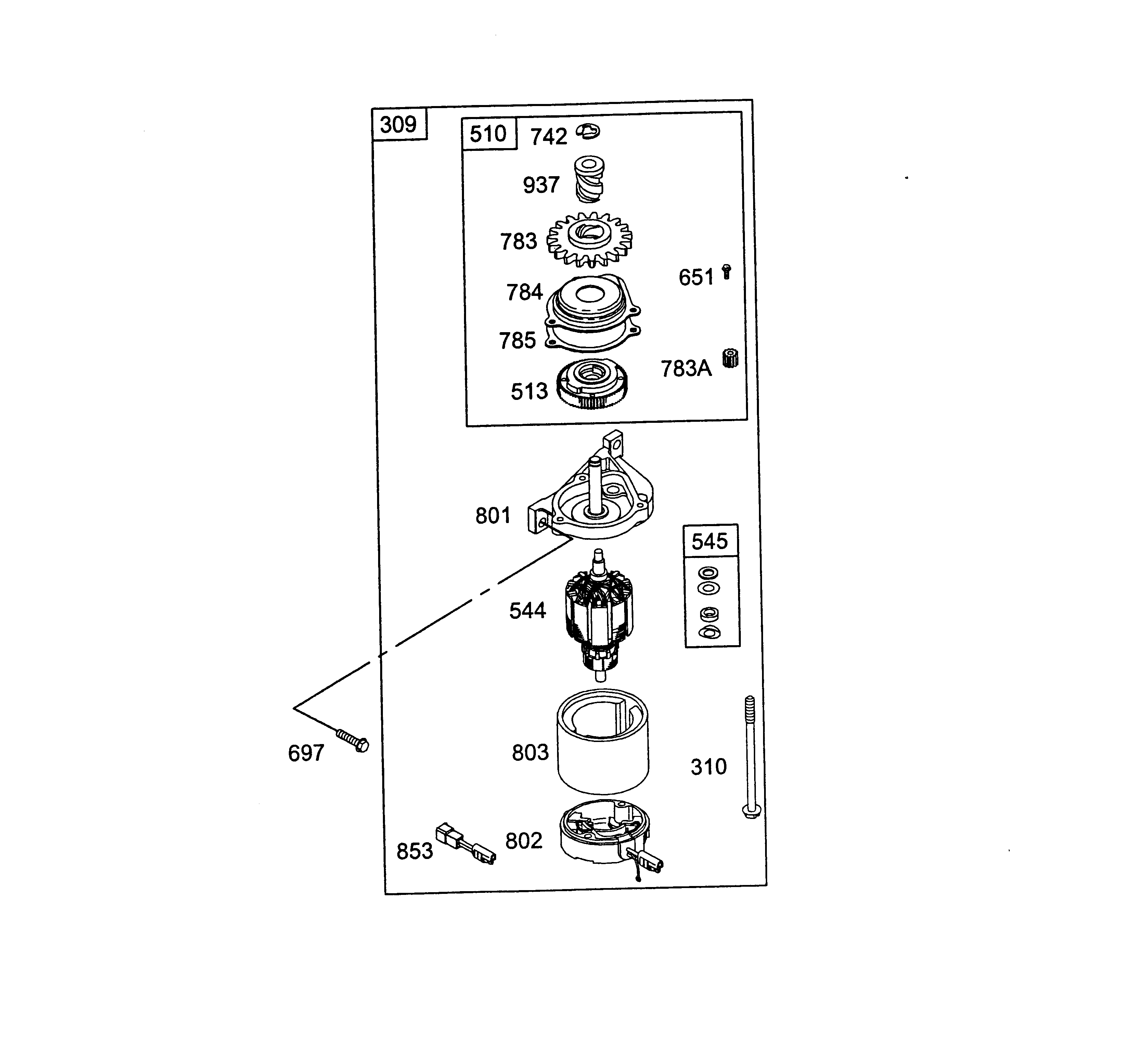
309
Motor-Starter
2069 010
310
Schraube
2069 103
510
Anfahrstarter
2069 011
513
Zahnrad
2069 105
544
Wicklung
2057 177
545
Scheibenset
2069 107
651
Schraube
2069 101
697
6.-kt. Schraube
2057 111
742
Wellensicherung
2069 116
783
Zahnrad
2069 108
783A
Zahnrad
2069 109
784
Zahnraddeckel
2069 110
785
Deckeldichtung
2069 111
801
Motordeckel
2069 112
802
Motordeckel
2069 329
803
Gehäuse
2069 113
853
Adapter, 3-polig
2069 058
937
Schneckenz.
2069 115
Gebrauchsanweisungen
Wolf
Handgeräte
Heckenscheren
Universalscheren
Handgrasscheren
Astscheren
Baumscheren
Baumpflege
Beleuchtungssysteme
Accuscheren
Häcksler
Sägen
Trimmer
Spindelmäher
Streuwagen / Portax
Schlauchwagen
Vertikutierer / Lüfter / Aerifizierer
Mäher
Accu
Benzin
Schiebe bis 42 cm
Schiebe ab 43 cm
Antrieb bis 42 cm
Antrieb ab 43 cm
Elektrostart / Touch&Mow
2er
4er
6er
Concept
Concept 43 BAI ( 1999 / 4360000-A )
Concept 47 BAI ( 1999 / 6460000-A )
Concept 47 BAI ( 2003 / 6460000-B, C, D )
Datenblatt (6460000bcd-2003-1)
Chassis (6460000bcd-2003-2)
Achse, Räder, Höhenverstellung (6460000bcd-2003-3)
Motor, Gestell, Messer (6460000bcd-2003-4)
Griff kpl. (6460000bcd-2003-5)
Fangsack Concept ( 2005 / 6450072- )
55 X-ES ( 2003 / 2076060- )
Kurbelgehäuse (2076060-2003-1)
Kolben, Ventile, Kurbelwelle, Ölwanne (2076060-2003-2)
Vergaser (Primer System) (2076060-2003-3)
Regelung, Polrad, Anlasser (2076060-2003-4)
Haube, Tank, Lüfterhaube (2076060-2003-5)
Luftfilter, Schalldämpfer (2076060-2003-6)
Zündanlage, Starter (2076060-2003-7)
Elektrischer Anlasser (2076060-2003-8)
Dichtungssatz (2076060-2003-9)
Premio
Power Edition
Esprit
Elektro
Aufsitzmäher
Benzinmotoren
Zubehör
Impressum
(C) by motoruf