Zurück zu
>
Roth / TORO
>
Handgeräte
>
Schneefräsen
>
einstufig
>
CCR 3000
>
642/38433
>
9900001
>
Vergaser
Ersatzteillisten für Toro Roth / TORO Vergaser
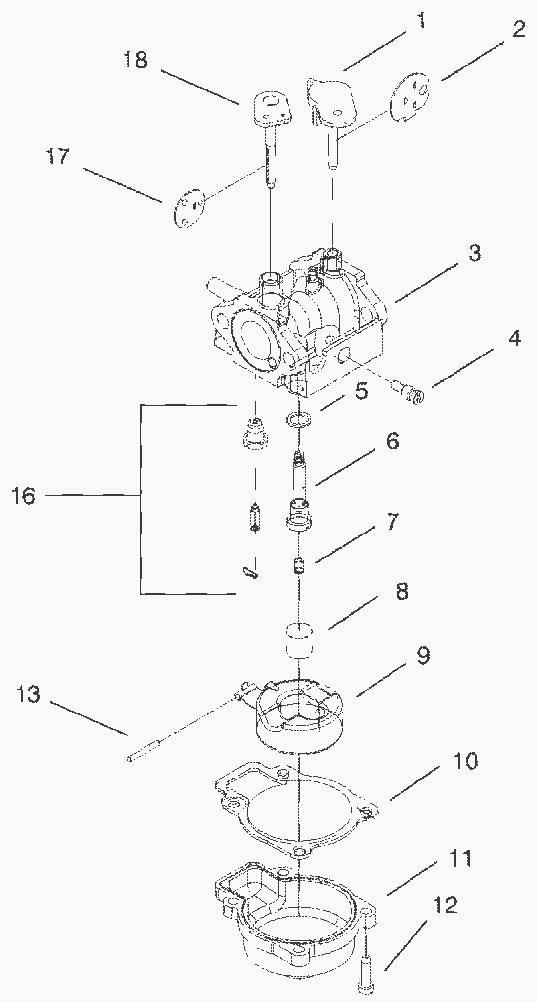
Pos.
Bezeichnung
Ersatzteilnummer
1
Choke Welle
94-5792
2
Choke Klappe
94-5788
5
Washer
612383
6
Duesenstock
98-7001
7
Duese
98-7010
8
Kraftstofffilter
94-5787
9
Schwimmer Kpl.
95-1899
10
Dichtung Schwimmergeh.
98-1362
11
Schwimmertopf
92-9691
12
Screw
608850
13
Schwimmerstift
92-6389
16
Nadelsitz
92-9697
17
Disc-Throttle
94-5704
18
Drosselklappen Welle
94-5791
Gebrauchsanweisungen
Toro
Roth / TORO
Aufsitzmäher
Handgeräte
Kehrmaschinen
Schneefräsen
Zubehör
zweistufig
einstufig
Snow Commander
CCR 3650 GTS
CCR 3000
643/38437
643/38436
642/38435
642/38433
9900001
Elektrostarter (120 V)
Vergaser
Elektrostarter (230 V)
Teilemotor
Motor (Fortsetzung)
Motor
Holm
Abdeckung
Motor & Kraftstofftank
Rotor
Auswurf & Abdeckung
Seitenwand & Spannrolle
Trommelgehäuse
642/38431
CCR 2450
CCR 2400
CCR 2000
CR 1000
CR 20
CR 20 R
S 620
S 200
CCR Powerlite
Sauger/Bläser
Rasenmäher
Robin
Impressum
(C) by motoruf