Zurück zu
motoruf
Warenkorb

Ersatzteillisten für Toro Roth / TORO Vergaser Nr. 640105




Ersatzteilliste


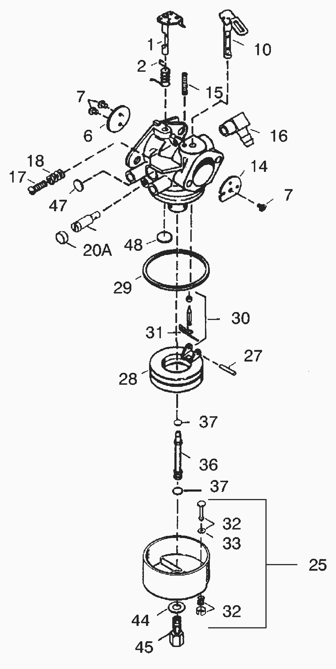
Pos.BezeichnungErsatzteilnummer
1Throttle-Shaft & Lever Asm632512
2Schenkelfeder631970
6Throttle Shutter640107
7Schraube650506
10Choke Shaft & Lever Asm632513
14Choke Shutter632429A
15Druckfeder630735
16Fuel Fitting632527
17Schraube s651025
18Feder630766
20Duese s640016
20Duesenkappe s640053
25Float Bowl Asm.632594A
27Haltestift631024
28Schwimmer632019
29Dichtring631028
30Schwimmerventil631021
31Klemmfeder631022
32Ablassventil27136
33Dichtung27554
36Duesenstock s640005
37O-Ring s632547
40Schraube s640106
44Dichtung27110
47Plug, Welch630748
48Stopfen631027
Gebrauchsanweisungen
Toro
Impressum
(C) by motoruf