Zurück zu
>
Roth / TORO
>
Handgeräte
>
Schneefräsen
>
einstufig
>
CCR Powerlite
>
601/38175
>
1000001
>
Vergaser Nr. 632552
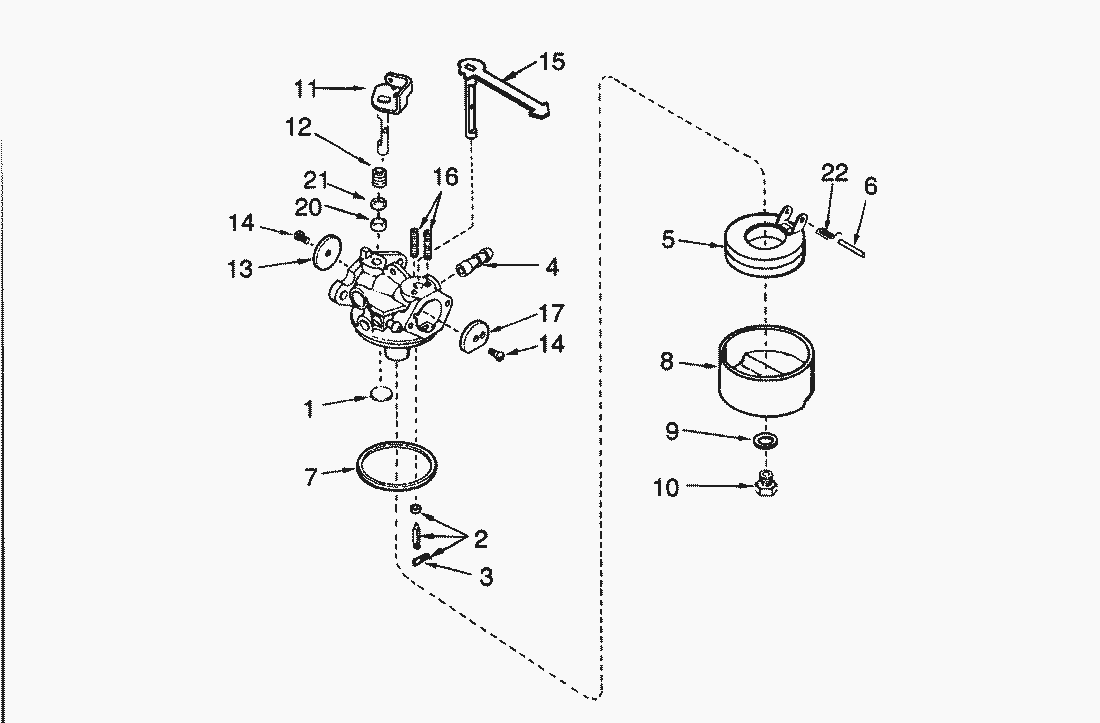
Ersatzteillisten für Toro Roth / TORO Vergaser Nr. 632552
Pos.
Bezeichnung
Ersatzteilnummer
1
Stopfen
631027
2
Schwimmerventil
631021
3
Klemmfeder
631022
4
Anschlussstueck
632164
5
Schwimmer
632019
6
Haltestift
631024
7
Dichtring
631028
8
Schwimmergehaeuse
631700
9
Dichtung
631334
10
Mutter
632385
11
Shaft & Lever Assy., Throttle
632130
12
Feder
632169
13
Shutter-Throttle
631621
14
Schraube
650506
15
Chokwelle
631553
16
Druckfeder
630735
17
Starterklappe
631815
20
Dichtring
631183
21
Scheibe
631184
22
Feder-Schwimmer
632386
Gebrauchsanweisungen
Toro
Roth / TORO
Aufsitzmäher
Handgeräte
Kehrmaschinen
Schneefräsen
Zubehör
zweistufig
einstufig
Snow Commander
CCR 3650 GTS
CCR 3000
CCR 2450
CCR 2400
CCR 2000
CR 1000
CR 20
CR 20 R
S 620
S 200
CCR Powerlite
602/38183
601/38178
601/38177
601/38176
601/38175
9900001
8900001
7900001
6900001
5900001
4900001
3900001
2000001
1000001
Starter Nr. 590537
Vergaser Nr. 632552
Motor Tecumseh Modell-Nr. HSK600 Typ 1669P (Modell-Nr. 38175)
Motor Tecumseh Modell-Nr. HSK600 Typ 1668P (Modell-Nr. 38170)
Holm
Startermotor (Modell-Nr. 38175)
Trommel
Riemenscheibe & Riemenabdeckung
Motor & Rad
Auswurf (Fortsetzung)
Auswurf
601/38173
601/38171
Sauger/Bläser
Rasenmäher
Robin
Impressum
(C) by motoruf