Zurück zu
>
Roth / TORO
>
Aufsitzmäher
>
Traktor
>
520 Lxi
>
521/73546
>
8900001
>
Regler
Ersatzteillisten für Toro Roth / TORO Regler
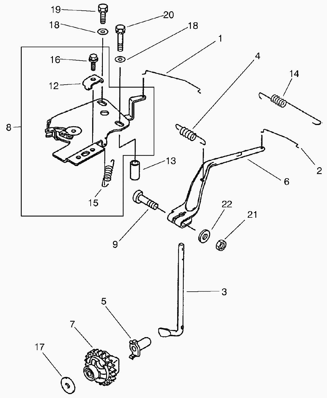
Pos.
Bezeichnung
Ersatzteilnummer
1
Chokgestaenge
95-9840
2
Gestaenge
95-9841
3
Reglerwelle
98-7362
4
Reglerfeder
98-7363
5
Mitnehmer
Kw10140
6
Reglerarm
98-7364
7
Reglerzahnrad
98-7365
8
Reglergrundplatte
95-9846
9
Schraube
93-8606
12
Bowdenzugklemme
95-9849
13
Buechse
95-9850
14
Feder
95-9851
15
Feder
95-9852
16
Schraube
95-9853
16
Screw-Sternantrieb (Only On: 73546)
98-7374
17
Washer
93-8612
18
Washer
95-9854
19
Bolt-Upset-Ws
95-9855
20
Bolt-Upset-Ws
95-9856
21
Stopmutter
Kw10101
22
Washer
93-8645
Gebrauchsanweisungen
Toro
Roth / TORO
Aufsitzmäher
Traktor
264-6
246 HE
244-5
212-H
212-5
17-44 HXLE
16-44 HXL
16-38 HXL
16-38 XLE
15-44 HXL
15-38 HXL
14-38 HXL
14-38 XL
13-38 HXL
13-38 XL
13-32 XLE
12-38 HXL
12-38 XL
12-32 XL
264 H
265 H
267 H
268 H
270 H
520 xi
520 Lxi
521/73546
8900001
Stoßfänger & Haube
Lenksäule & Kraftstofftank
'Attach a matic' -Aufhängung
Servolenkung unten
Servolenkung & Kippen
Befestigungen, Spindel & Vorderachse
Hydraulik Getriebeachse
Hydraulik Getriebeachse (Fortsetzung)
Antriebswelle
Hydro-Aushebung - untere Gruppe
Hydro-Aushebung - obere Gruppe
Haube & Scheinwerfer
Grill & Seitenverkleidung
Armaturenbrett
Kotflügel, Fußauflage & Sitz
Kotflügel, Fußauflage & Sitz (Fortsetzung)
Lenkeinrichtung
Umschaltung
Feststellbremse
Hydraulikbetätigungen
Lenkeinrichtung
Feststellbremse unten
Tempomat Betätigung
Kotflügel & Kraftstoffsystem
Rad
Wassergekühlter Benzinmotor
Wassergekühlter Benzinmotor (Fortsetzung)
Elektrik
Getriebe
Kurbelgehäuse
Kolben & Kurbelwelle
Ventil/Nockenwelle
Ölpumpe & Filter
Wasserpumpe
Elektrik
Regler
Vergaser
Luftfilter
Kraftstoffpumpe & Filter
Starter
521/73580
523 Dxi
Rider
Mähwerke
Zubehör
Handgeräte
Robin
Impressum
(C) by motoruf