Zurück zu
>
Roth / TORO
>
Handgeräte
>
Schneefräsen
>
einstufig
>
CR 1000
>
603/38191
>
6900001
>
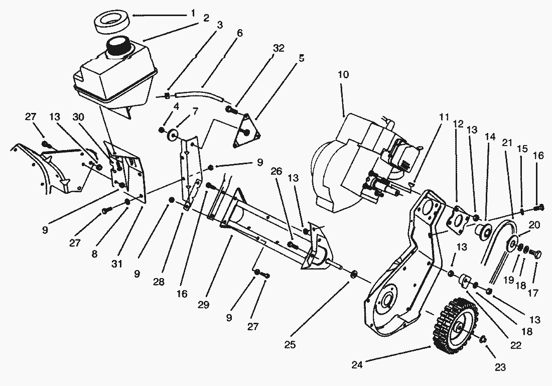
Motor & Rahmen Modell 38191 (Starter)
Ersatzteillisten für Toro Roth / TORO Motor & Rahmen Modell 38191 (Starter)
Pos.
Bezeichnung
Ersatzteilnummer
1
Dichtung
55-9310
2
Tank-Fuel
71-5020
3
Clamp
2412-86
4
Mutter
3296-16
5
Starterhalterung
92-6012
6
Hose-Fuel
49-2482
7
Scheibe
71-5320
8
scheibe
3256-22
9
MUTTER
3296-42
10
11
Keil
3257-3
12
Plate-Engine
71-5290
13
MUTTER
3296-29
14
Hub-Sheave
71-5050
15
Scheibe
3256-23
16
Schraube
322-3
17
Screw-Locking Hex. Hd.
3235-6
18
Tellerscheibe
3290-456
19
Scheibe
3256-71
20
Cap-Sheave
71-5060
21
Keilriemen
71-5381
22
Seilfuehrung
84-5610
23
Sicherungskappe
3290-320
24
Rad
23-3250
25
Scheibe
71-5440
26
Schraube
322-5
27
Schraube
321-4
28
Support-Engine
71-5210
29
Frame Assembly
71-5200
30
Schraube
32144-53
31
Bracket-Fuel Tank
71-5220
32
Schraube
92-6019
Gebrauchsanweisungen
Toro
Roth / TORO
Aufsitzmäher
Handgeräte
Kehrmaschinen
Schneefräsen
Zubehör
zweistufig
einstufig
Snow Commander
CCR 3650 GTS
CCR 3000
CCR 2450
CCR 2400
CCR 2000
CR 1000
603/38196
603/38195
603/38191
6900001
Starter Nr. 590652
Motor Tecumseh Modell-Nr. HSK600-1681S
Vergaser Nr. 632641
Holm
Motor & Rahmen Modell 38191 (Starter)
Rotor
Rotorgehäuse
oberer Abdeckung
oberer Abdeckung (Fortsetzung)
5900001
4900001
3900001
2000001
CR 20
CR 20 R
S 620
S 200
CCR Powerlite
Sauger/Bläser
Rasenmäher
Robin
Impressum
(C) by motoruf