Zurück zu
motoruf
Warenkorb

Ersatzteillisten für Toro Roth / TORO Motor & Rad




Ersatzteilliste


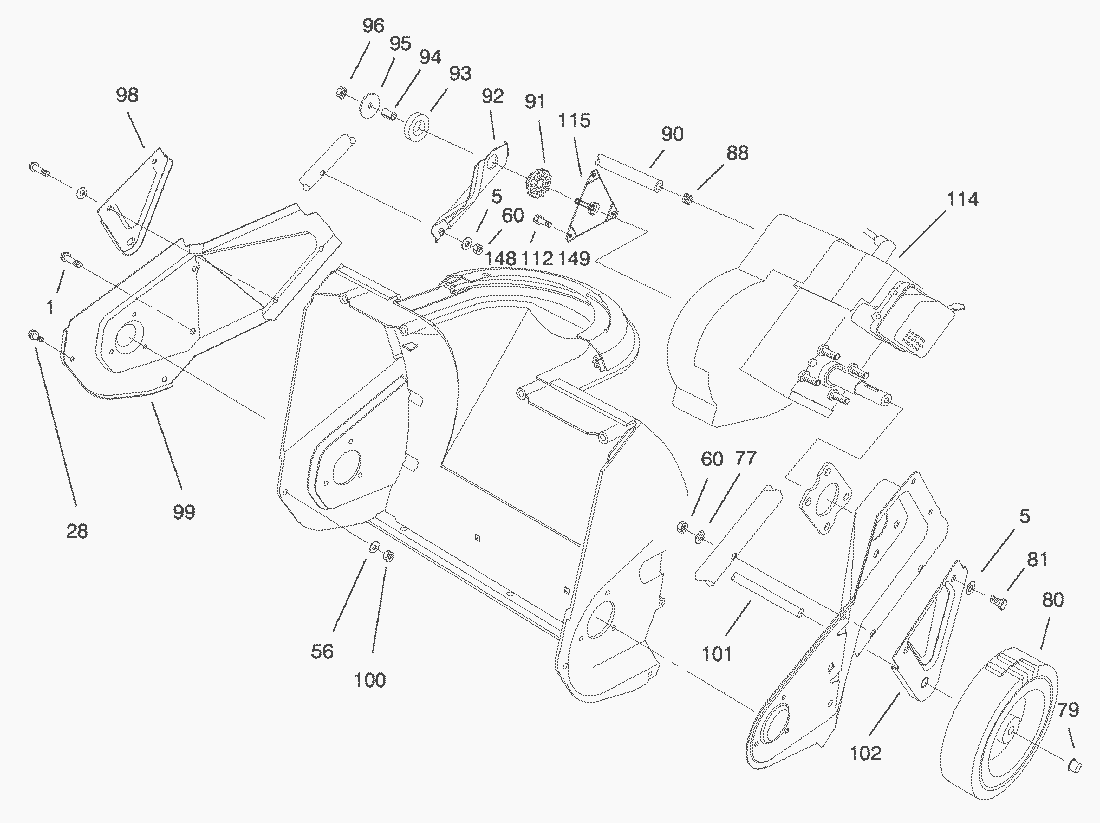
Pos.BezeichnungErsatzteilnummer
1Screw-Hex Washer Hd.46-8094
5Washer-Plain3256-1
28Schraube32105-23
56Scheibe3256-14
60MUTTER3296-42
77Scheibe3-7501
79Sicherungskappe3290-320
80Rad23-3250
81Schraube321-10
88Klemme2412-98
90Hose-Fuel49-2483
91Bushing-Isolation75-9100
92Support-Engine75-8980
93Ring-Isolator80-0620
94Spacer80-0650
95Washer-Fender3256-58
96Mutter3296-16
98Bracket-Wheel R.H.75-8900
99Sideplate-R.H.75-8820
100Mutter3296-2
101Radachse27-0062
102Bracket-Wheel L.H.75-8910
112Schraube92-6019
114
115Starterhalterung92-6012
148Schraube92-6031
149Federring3255-10
Gebrauchsanweisungen
Toro
Impressum
(C) by motoruf