Zurück zu
motoruf
Warenkorb

Ersatzteillisten für Toro Roth / TORO Kupplung




Ersatzteilliste


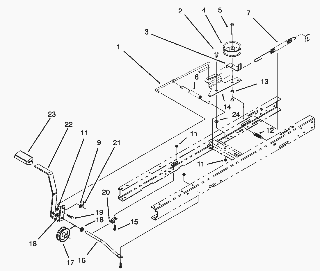
Pos.BezeichnungErsatzteilnummer
1Kupplungs-Gestaenge88-5270
2Schraube37-8770
3Riemenfuehrung88-5560
4Pulley-Flat Idler88-5680
5Schraube323-11
6Feder27-8890
7Bremsfeder88-6140
9Scheibe3256-23
11MUTTER3296-29
12Spring-Extension88-6330
13Mutter3296-59
14Spannarm88-6070
15Schraube322-3
16Gestaenge88-5500
17Pulley-Cable88-4700
18Scheibe3256-26
19Schraube3230-3
20Klammer88-4810
21Splint3272-10
22Pedal-Clutch/Brake88-5000
23Pedalgummi65-2920
24Scheibe5-4460
Gebrauchsanweisungen
Toro
Impressum
(C) by motoruf